Decongelarea produselor alimentare se realizeaza in scopul consumului acestora sau a utilizarii in diverse procese de prelucrare. In functie de metoda prin care se asigura aportul de caldura catre produs, decongelarea se poate realiza:
Decongelarea se poate realiza si in cadrul unor faze tehnologice cum ar fi tocarea, in timpul carora caldura degajata prin actiunea mecanica asupra produsului asigura decongelarea.
Decongelarea in aer este metoda cea mai simpla, dar implica durate mari ale procesului si pierderi de greutate semnificative; pot apare si fenomene de oxidare ale straturilor superficiale ale produselor. Este de preferat decongelarea in spatii in care parametrii aerului (temperatura, viteza, umiditate) pot fi controlati; astfel, temperatura trebuie sa fie de 4.200C, viteza de 0,3.3 m/s, iar umiditatea relativa de 95.98%. Temperaturi mai mari de 200C pot provoca modificari ale culorii produsului, in timp ce viteze mici ale aerului conduc la cresterea duratei procesului de decongelare. Utilizarea aerului cu umiditate relativa sub 85% poate conduce la pierderi semnificative in greutate, modificari ale culorii produsului si deshidratari ale stratului superficial.
Decongelarea in apa permite reducerea duratei procesului si a pierderilor in greutate; pe de alta parte este posibil sa apara pierderi de substante nutritive, motiv pentru care in apa se adauga sare in proportie de 1.4% . Apa utilizata are o temperatura de aproximativ 200C.
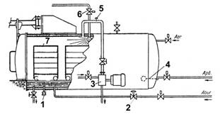
Decongelarea cu abur utilizeaza caldura latenta de condensare a aburului; unele variante tehnologice presupun desfasurarea procesului la presiuni scazute (20 mm Hg si 210C; fig. 7.29) s24t. Procedeul permite scurtarea duratei decongelarii.
|
|
Fig. 7.29 - Instalatie pentru decongelare in vid 1-robinet pentru golire; 2-robinet pentru abur; 3-pompa de vacuum; 4-supapa de reglare a nivelului; 5-senzor depresiune; 6-robinet circuit de spalare; 7-produse supuse decongelarii |
Decongelarea prin contact cu suprafete metalice se realizeaza in aparate asemanatoare constructiv cu cele utilizate pentru congelare; temperatura agentului pulverizat pe suprafata inferioara a benzii transportoare metalice este cuprinsa intre 200C si 40.500C, in functie de tipul produsului.
|
Politica de confidentialitate |
| Copyright ©
2025 - Toate drepturile rezervate. Toate documentele au caracter informativ cu scop educational. |
Personaje din literatura |
| Baltagul – caracterizarea personajelor |
| Caracterizare Alexandru Lapusneanul |
| Caracterizarea lui Gavilescu |
| Caracterizarea personajelor negative din basmul |
Tehnica si mecanica |
| Cuplaje - definitii. notatii. exemple. repere istorice. |
| Actionare macara |
| Reprezentarea si cotarea filetelor |
Geografie |
| Turismul pe terra |
| Vulcanii Și mediul |
| Padurile pe terra si industrializarea lemnului |
| Termeni si conditii |
| Contact |
| Creeaza si tu |