PRINCIPALELE PROCESE CARE DETERMINA TRANSFORMAREA MUSTULUI IN VIN
Respiratia si fermentatia ca fenomene ale catabolismului.
In respiratie se elibereaza, dintr-o data, o mare cantitate de energie:
C6H12O6 + 6O2 → 6CO2 + 6 H2O + 673 cal
In acest caz acceptorul de hidrogen este oxigenul. Drept urmare, unul din produsii finali este apa si celalalt este CO2.
In fermentatie (fenomen ce are loc in anaerobioza) acceptorul de hidrogen nu mai este oxigenul ci alte substante (ex. aldehida acetica). Ecuatia globala:
C6H12O6 → 2CH3 - CH2OH + 2CO2 + 33 cal
Se formeaza alcoolul care detine inmagazinata o mare cantitate de energie, de aceea se elibereaza numai 33 calorii. Aceeasi specie sau acelasi gen de levuri efectueaza fie respiratia, fie fermentatia in functie de prezenta sau absenta oxigenului. In prezenta oxigenului se desfasoara respiratia, iar in absenta lui fermentatia alcoolica. Cele doua procese sunt desfasurate de microorganisme pentru a-si procura energia de care au nevoie, prin intermediul produsilor macroergici (ADP si ATP).
La transformarea mustului in vin, levurile desfasoara respiratia in faza initiala cand pentru a se inmulti au nevoie de o mare cantitate de energie. Cand aerul a fost consumat energia este procurata pe calea fermentatiei alcoolice insa in cantitati mult mai mici, dar suficiente pentru vietuirea microorganismelor. Pentru precizarea comportarii levurilor la diferite grade de aerare Pasteur a executat o explicatie care a devenit clasica.
V1: aerare abundenta
V2: aerare potrivita
V3: lipsa aerului
Constatari: La V1 s-a format cea mai mare cantitate de biomasa si o mica proportie de alcool. La V3 s-a format o mica proportie de biomasa si mari cantitati de alcool. Reiese deci, ca respiratia este o cale risipitoare de procurare a energiei de catre levuri.
Energia necesara levurilor
In general microorganismele nu pot folosi decat doua feluri de energie: luminoasa (radianta) - cele fototrofe si energia chimica (de oxidare). Levurile folosesc pe aceasta din urma, adica energia de oxidare.
Energia chimica nu este accesibila decat daca este eliberata in interiorul celulei. Este deci, strict necesar ca substantele purtatoare de energie sa patrunda mai intai in interiorul celulei levurilor. Prin membrana dubla a celulei nu patrund decat substante cu molecula mica. Principala sursa energetica din mustul de struguri o constituie zaharurile fermentescibile. Dupa o regula stabilita de biochimistul Emil Fischer zaharurile fermentescibile sunt numai cele care contin 3 carboni sau multiplu de 3 carboni. Asadar, pot fermenta triozele si hexozele. Dintre trioze se mentioneaza aldehida glicerica si dioxiacetona. Dintre cele 9 hexoze cu functie aldehidica sunt fermentescibile numai 3: d-glucoza; d-manoza; d-galactoza. Dintre cetohexoze fermenteaza numai fructoza sau levuloza. Dizaharidele si trizaharidele fermenteaza numai dupa hidroliza adica dupa scindare in zaharuri simple.
Fermentatia ca proces de oxido-reducere
Fermentatia alcoolica este un caz particular al respiratiei celulare si are la baza mecanisme de oxido-reducere biologica. Acest mecanism de oxido-reducere se realizeaza prin pierderea atomilor de hidrogen (electroni) de pe o substanta care reprezinta substratul sau donatorul de hidrogen si transferul pe alte substante care reprezinta acceptorul de hidrogen. In acest caz substratul se oxideaza, iar acceptorul se reduce. Schematic acest fenomen se prezinta: SH2 + A → S + AH2.
In respiratie sau aerobioza acceptorul de hidrogen fiind oxigenul fenomenul se prezinta astfel: SH2 + ½ O2 → S + H2O
In fermentatie (anaerobioza) acceptorii sunt unii produsi de metabolism. In acest caz reactia este: SH2 + X → S + XH2
Este bine precizat in prezent ca intr-o oxido-reducere biologica se realizeaza o mare cantitate de energie. Dar pentru ca aceasta energie sa poata fi folosita de catre levuri se impun doua necesitati de ordin vital: necesitatea eliberarii energiei in mod permanent si in cantitati corespunzatoare desfasurarii proceselor metabolice si necesitatea folosirii energiei in anumite momente determinate de procesele vitale. Aceste doua necesitati se indeplinesc prin doua mecanisme energetice: printr-o serie de reactii intermediare, biocatalizate de enzime specifice si care constituie asa-zisa catena respiratorie celulara; prin legarea energiei in constituentii chimici complecsi ADP si ATP, numiti compusi macroergici. Acesti compusi se descompun usor eliberand energia atunci cand celulele au nevoie de ea.
Principalele enzime participante la fermentatie.
Principalele enzime ale fermentatiei sunt: hexochinaza, fosfohexochinaza, zimohexaza, izomeraza, fosfataza, carboxilaza Neuberg, codehidraza Von Euler. Ultimele doua indeplinesc roluri esentiale: carboxilaza produce decarboxilarea acidului piruvic, adevarata placa turnanta a metabolismului; codehidraza confera fermentatiei alcoolice caracterul de oxido-reducere biologica.
TEHNOLOGIA GENERALA DE PRODUCERE A VINURILOR ALBE SECI
La vinurile albe, pe langa nivelul principalilor constituenti chimici definiti pentru fiecare categorie si tip, insusirile de fructuozitate, aroma si expresivitate, tipice soiurilor si arealelor de provenienta, se constituie in criterii fundamentale de calitate. In plus, aceste produse trebuie sa fie oferite consumatorilor in perfecta stare de limpiditate si cu o stabilitate durabila in timp. Succesiunea operatiunilor tehnologice si principalele mijloace de realizare a lor la vinificarea in alb sunt prezentate in schema 6.1.
Desciorchinarea si zdrobirea strugurilor. Sunt operatiuni tehnologice cu implicatii considerabile privind pastrarea caracterelor de fructuozitate si expresivitate ce se cer imperios vinurilor albe.
Sulfitarea mustuielii se efectueaza cu SO2 lichefiat, urmarindu-se ca in mustuiala sa fie incorporate 50-60 mg/l SO2 - cand strugurii au fost sanatosi - si 80-120 mg/l - in situatia unor recolte afectate de putregaiul cenusiu, oidium si molii.
6.1.3 Separarea mustului ravac se executa, in general, cat mai repede, folosindu-se scurgatoare compresoare, camere scurgatoare si recipiente metalice rotative.
Supravegherea si conducerea fermentatiei alcoolice constau in: observarea cu multa atentie a procesului, determinarea principalilor parametri de natura microbiologica si fizico-chimica, ce caracterizeaza fermentatia si incorporarea periodica de oxigen prin remontarea mustului-vin. Obligativitatea acestor masuri decurge din faptul ca, la vinificarea in alb, apar cu o mare frecventa, asa-zisele dificultati de fermentatie.
Succesiunea operatiilor tehnologice si posibilitatile de realizare a lor in procesul elaborarii vinurilor albe
Cu regularitate se determina (de doua ori pe zi) cativa parametri fizico-chimici, care prin valorile lor pot reflecta mersul fermentatiei. Acesti indici sunt: densitatea mustului-vin, proportia de zaharuri si temperatura. Pe baza valorilor obtinute se intocmeste graficul de fermentatie, atasat la fiecare recipient.
Pentru a pastra un echilibru intre avantajele si dezavantajele determinate de temperatura de fermentare se recomanda ca nivelul acesteia sa nu depaseasca 200 C la obtinerea vinurilor albe superioare si 250 C la realizarea celor de consum curent, dar sa nu coboare (in ambele situatii) sub 150 C.
TEHNOLOGIA GENERALA DE PRODUCERE A VINURILOR ROSII
In conditiile folosirii unei materii prime corespunzatoare si aplicand cu atentie toate celelalte verigi ale tehnologiei de elaborare, calitatea vinurilor rosii depinde, esential, de modul cum se desfas oara macerarea si de momentul separarii fazelor mustuielii.
Vinurile rosii se obtin prin fermentare-macerare, maceratie carbonica si maceratie la cald (termovinificare).
Secventele tehnologiei de obtinere a vinurilor rosii prin fermentare-macerare sunt prezentate in schema 6.2.
Verigile specifice tehnologiei de obtinere a vinurilor rosii
Desciorchinarea
Desciorchinarea se impune cu necesitate, in situatia unor struguri ai caror ciorchini sunt 'incarcati' cu pesticide, provenite de la tratamentele vitei de vie. In cazul vinificarii strugurilor negri, bine copti, intr-o perfecta stare fitosanitara si lipsiti de substante poluante, prezenta ciorchinilor la un loc cu celelalte parti solide, in timpul fermentarii-macerarii, se soldeaza cu importante avantaje de ordin igieno-alimentar.
Fermentarea-macerarea
Fermentarea-macerarea este un proces complex de natura biochimica si biofizica si in acelasi timp o operatiune cu adanci implicatii oenologice, prin care cele doua faze ale mustuielii se mentin la un loc, o anumita perioada de timp, in vederea extragerii din pielite si din celelalte parti solide, in primul rand a polifenolilor (pigmentii antocianici si taninurile), constituentii care exprima, in masura esentiala, caracterul si tinuta generala a vinurilor rosii.
Fermentatia fazei lichide impreuna cu partile solide ale strugurilor comporta o simultaneitate a numeroaselor fenomene: de transformare biochimica a zaharurilor, pe de o parte si de macerare a pielitelor, pulpei si semintelor, pe de alta parte; cele doua mari procese influentandu-se reciproc. Astfel, prin fermentatie rezulta alcool etilic si o cantitate importanta de caldura, factori care determina, in mod hotarator, macerarea partilor solide, iar prin macerare, mustul-vin se imbogates te in constituenti necesari nutritiei plastice si minerale a levurilor, stimuland, la randul ei, fermentatia alcoolica.
Procesul de macerare implica fenomene de osmoza, dializa si difuziune. Prin osmoza si dializa are loc trecerea constituentilor solubili din partile solide in faza lichida, iar prin difuziune se explica tendinta de egalare a concentratiei substantelor extrase in tot volumul mustului-vin.
Indiferent de podgorie si soi, temperaturile de fermentare pe bostina sub 250 C nu permit ca sa se obtina vinuri rosii cu maximum de calitate, corespunzator unui anumit potential natural. Vinurile obtinute la temperaturi de sub 250 C sunt slab colorate si fara 'corp', de aceea, se considera ca temperaturile de fermentare-macerare, la vinificatia in rosu, cuprinse intre 26-300 C sunt cele mai corespunzatoare. La aceste temperaturi are loc o extragere normala a pigmentilor si a altor polifenoli, precum si a substantelor extractive.
De fapt, temperaturile mai ridicate la vinificarea in rosu nu sunt dictate de necesitatea desfasurarii fermentatiei, ci pentru favorizarea macerarii, fara de care nu este posibila realizarea unui vin rosu cu caracteristicile si insusirile cerute de consumatorii interni si externi avizati.
Folosirea enzimelor pectolitice prezinta un interes deosebit in tehnologiile moderne de vinificare in rosu. Enzimele pectolitice exogene aditionate in doze riguros stabilite si in anumite momente ale vinificatiei primare in rosu realizeaza degradarea substantelor pectice din lamela mijlocie si peretele primar al celulelor boabelor de struguri, avand drept consecinta sporirea evidenta a randamentului in must si imbogatirea acestora in antociani, taninuri, substante minerale si arome.
Succesiunea operatiilor tehnologice de obtinere a vinurilor rosii prin fermentare - macerare

Controlul si conducerea fermentarii-macerarii consta in masurarea de 2 ori pe zi (dimineata si seara) a temperaturii si a densitatii mustului, observarea si determinarea intensitatii colorante (vizual si analitic), precizarea gradului de astringenta s.a. Datele privind temperatura si densitatea se transpun pe un grafic, atasat la recipient, iar celelalte se consemneaza in registrul de observatii, fiind corelate si interpretate in permanenta.
Temperatura intr-un recipient de fermentare-macerare este mult mai neuniforma in comparatie cu situatia inregistrata la fermentatia musturilor albe. Astfel, in 'caciula' temperatura poate fi cu 10-15oC mai ridicata decat valoarea celei din faza lichida).
Separarea fazelor si mentinerea lor un timp in aceasta stare atrag pe langa o compozitie nesatisfacatoare si unele alterari si defecte, cu consecinte negative asupra calitatii produselor.
Pentru ca procesele de fermentatie si maceratie sa se desfasoare normal si sa se influenteze pozitiv, este strict necesara o cat mai buna omogenizare a celor doua faze si o data cu aceasta uniformizarea fenomenelor biochimice si biologice. In acest sens, aglomerarea de parti solide ce formeaza 'caciula', in spatiul gol al recipientului, se incorporeaza periodic in faza lichida.
Orientativ, la vinificarea in rosu prin metoda clasica duratele de macerare-fermentare sunt cuprinse intre 4 - 7 zile (la densitatea fazei lichide 1005-1010), iar la implicarea procedeelor de tip industrial intre 30 si 72 ore (la densitatea fazei lichide 1020-1040).
Fermentarea-macerarea in cisterne metalice rotative cunoaste in prezent cea mai larga raspandire in industria vinicola din Romania.
In tara noastra, procedeul a fost realizat si experimentat pentru prima data la SDE a Universitatii din Craiova, fiind rapid adoptat de catre toate unitatile producatoare de vinuri rosii.

Recipientele, in capacitate de 20
tone, construite din tabla de otel inoxidabil sunt suspendate si
actionate de un motor electric, prin intermediul unui reductor de
viteza, care le asigura 5-6 rotatii pe minut, in jurul axei
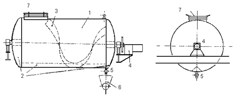
longitudinale (fig. 6.1).
Instalatia de macerare-fermentare cu cisterne metalice rotative:
1 - spatiul pentru mustuiala; 2 - spatiul pentru must; 3 - sicana in spirala pentru golire si amestecarea fazelor mustuielii; 4 - motor cu reducator de viteza; 5 - stut de evacuare a mustului-vin; 6 - colectare must-vin; 7 - gura de incarcare-descarcare cu capac.
Fermentarea si macerarea avand loc in spatiul inchis, la o usoara suprapresiune de gaz inert (CO2) si posibilitatile de realizare a omogenizarii celor doua faze, conduc la obtinerea unor vinuri rosii de calitate superioara sau, dupa felul materiei prime, de consum curent
In toamnele cu temperaturi normale, regimul de rotire 2 x 5 min/h conduce la obtinerea unor produse bine colorate si cu continuturi potrivite in polifenoli totali si taninici, facand posibila intreruperea macerarii chiar dupa 30-40 ore. Cand timpul este racoros (si nu se foloseste termostatarea), regimul de rotire de 15 min/3 ore sau 20 min/4 ore este de preferat, intrucat in cisterna se pastreaza mai bine temperatura, factorul de baza care favorizeaza reciprocitatea dintre fermentatie si maceratie.
Maceratia carbonica
Principiul maceratiei carbonice consta in deversarea strugurilor negri, perfect sanatosi si intregi, intr-un recipient (cada, cisterna) incarcat in prealabil cu CO2, dupa care se inchide
In astfel de
conditii, in recipient au loc simultan fenomene: de fermentatie
intracelulara (in boabele intregi), de fermentatie propriu-zisa,
sub actiunea levurilor (in mustul adunat la partea inferioara a
recipientului, provenit prin spargerea boabelor), precum si de macerare
(atat la strugurii zdrobiti, cat si la cei intregi).
Importanta majora prezinta fenomenele care au loc in
boabele intregi, scaldate in CO2.
Procesele de fermentatie intracelulara duc la formarea de alcool in interiorul bobului. Continutul de alcool format in boabe este mic (1-2 vol %), dar raportul zahar-alcool este comparabil cu cel de la fermentatia produsa de levuri
Maceratia la cald (termovinificarea)
Metoda consta in incalzirea strugurilor intregi sau a mustuielii, in recipiente din material anticorosiv sau instalatii moderne, la anumite nivele de temperatura si pe durate diferite de timp. Prin incalzirea strugurilor negri sau a mustuielii, fermentatia si maceratia devin doua operatiuni distincte. Maceratia are loc in conditii de temperatura ridicata, iar fermentatia, dupa separarea mustului de partile solide (in faza lichida) se desfasoara la temperaturi asemanatoare vinificatiei in alb.
Tratamentul termic se considera a fi o tehnica avantajoasa pentru obtinerea unor vinuri acceptabile din struguri negri afectati de putregaiul cenusiu, cu continuturi mai mici in antociani si cu o maturare insuficient realizata. Procedeul este implicat mai mult pentru obtinerea vinurilor rosii de consum curent mai bogate in culoare.
TEHNOLOGII SI PROCEDEE DE OBTINERE A VINURILOR ROZE
'Vinul roze este un tip intermediar intre vinul alb si cel rosu, intre vinul obtinut fara macerare pe pielitele strugurilor si vinul fermentat pe bostina. El poate avea la origine aceleasi soiuri ca si vinurile rosii. Este insa caracterizat prin prezenta unei cantitati mici de antociani si printr-un continut de tanin (mai cu seama de leucoantociani) superior celui din vinurile rosii.
Procedee tehnologice moderne de producere a vinurilor roze
Metoda prin scurgerea unei parti din mustul ravac alb Mustuiala de struguri negri este condusa in cazi sau cisterne metalice (statice sau rotative). Concomitent se efectueaza sulfitarea (50-100 mg SO2/l) si insamantarea cu levuri apartinand speciei Saccharomyces oviformis. La recipient se lasa deschis stutul de scurgere, inca de la inceputul operatiunii, datorita carui fapt 20-25% din mustul ravac se scurge. Aceasta portiune fermenteaza, dupa procedeul in alb, iar mustuiala partial scursa parcurge etapa de fermentare-macerare, timp de 24-36 ore, dupa care se preseaza. Vinul rosu obtinut se asambleaza cu cel alb provenit prin scurgerea ravacului, rezultand un vin roze cu caracteristicile mentionate in definitie.
Obtinerea vinurilor roze prin modificarea raportului intre fazele mustuielii Recolta de struguri negri se separa in doua parti inegale. O portiune de 75% se vinifica in alb, iar cea care reprezinta 25% se transforma in mustuiala.
Obtinerea vinurilor roze printr-o macerare de scurta durata Metoda consta in practicarea unui contact al mustului cu partile solide ale strugurilor pe durate cuprinse intre 3 si 24 ore (in functie de bogatia strugurilor in antociani). Dupa zdrobirea si desciorchinarea strugurilor, mustuiala se sulfiteaza moderat (60-80 mg/l), se insamanteaza cu levuri selectionate (4-5 milioane cel/ml must) dupa care cele doua faze se mentin la un loc pe perioade de timp cuprinse intre limitele mentionate. Cele realizate printr-o macerare de 24 ore poarta si numele vinuri 'de o zi' sau 'de o noapte'.
In perioada de contact a celor doua faze ale mustuielii are loc o usoara fermentare precum si fenomene slabe de macerare, datorita carora o mica proportie din pigmentii antocianici difuzeaza in must.
TEHNOLOGIA DE PRODUCERE A VINURILOR ALBE DEMISECI, DEMIDULCI SI DULCI DOCC
Vinurile demiseci, demidulci si dulci naturale sunt produse de inalta clasa, apreciate in mod deosebit, chiar si de consumatorii cu cele mai rafinate gusturi si pretentii. Ele se realizeaza in putine podgorii si din soiuri cu insusiri de calitate superioara. Printre cele mai reputate podgorii se mentioneaza: Sauternes Franta (cu soiurile Sauvignon, Semillion, Muscadelle), Johanisberg Germania (cu soiul Riesling de Rhin), Tokay-Ungaria (cu soiul Furmint), Cotnari (cu soiurile Grasa, Feteasca alba, Francusa), Murfatlar (cu soiurile Chardonnay si Pinot gris).
Succesiunea operatiunilor tehnologice in procesul de obtinere a vinurilor cu zahar rezidual se prezinta in schema 6.3.
Recoltarea se efectueaza cand in struguri continuturile relative in zaharuri sunt de aproximativ 220 g/l pentru tipul demisec, cuprinse intre 230 255 g/l pentru tipul demidulce si peste 260 g/l pentru tipul dulce. Pentru realizarea ultimelor doua tipuri, o mare parte din boabe trebuie sa se afle in stadiul de stafidire.
Limpezirea mustului este sumara si se realizeaza printr-o sulfitare moderata (50-60 mg SO2 pe l) asociata cu folosirea bentonitei (1-1,5 g/l).
Golul de fermentare va fi mai mare pentru a stimula activitatea levurilor, evident stanjenite de presiunea osmotica exercitata de continuturile ridicate in glucide.
Aditionarea de levuri selectionate este strict obligatorie folosindu-se rase apartinand speciei Saccharomyces ellipsoideus. Numarul initial de celule trebuie sa fie cuprins intre 7-10 mil/ml must.
Sistarea fermentatiei este trasatura particulara si cea mai importanta in aceasta tehnologie. Prin ea se asigura mentinerea in produse a proportiilor de zaharuri nefermentate, mentionate pentru fiecare tip.
Pentru sistarea fermentatiei se recurge la unul din urmatoarele procedee: aplicarea unei sulfitari (50-60 mg/l), insotita de bentonizare (1 g/l); aplicarea unui soc termic (cu cel putin 10-150 C sub nivelul existent in momentul interventiei), urmata de centrifugare si filtrare prin placi K6-K8 sau membrane (implicand fie fluxul perpendicular, fie fluxul tangential); sulfitarea (20-30 mg/l) urmata de aplicarea unei filtrari aluvionare (cu diatomita) si de o filtrare stransa prin placi sterilizante.
Imediat dupa sistarea fermentatiei alcoolice se iau masuri energice de asigurare, in primul rand a stabilitatii biologice.
Maturarea la vase de lemn poate fi prelungita la 8-12 luni pentru VDO si 12-18 luni pentru VDOC.
Invechirea la sticle cuprinde o perioada de pana la 18 luni.
Pentru imbunatatirea calitatii renumitelor vinuri demiseci si demidulci de Cotnari, macerarea in cisterne rotative metalice, pe durata de 24 ore, s-a dovedit deosebit de oportuna.
Vinul rosu este promovat inca din cele mai vechi timpuri drept un medicament bun pentru organism in general si pentru aparatul cardiovascular in special. Cercetatorii au incercat sa verifice aceasta ipoteza si au pus in evidenta un compus numit resveratrol despre care se crede ca este responsabil de efectele benefice ale vinului rosu.
In afara calitatilor gustative pe care le are vinul rosu, studii au demonstrat ca acesta are si un efect benefic asupra sanatatii, prevenind afectiuni ale inimii, circulatiei si de asemenea previne aparitia unor forme de cancer. Efectul benefic asupra sanatatii se datoreaza continutlui mare in polifenoli din vinul rosu. Polifenolii previn inflamatile si formatiunile canceroase. Flavonoidele continute in vinul rosu, protejeaza celulele de radicali liberi si incetinesc procesul de oxidare al celulelor. Reduc depunerea grasimii in vasele sangvine si previn calcificarea arterelor.

Diferenta esentiala dintre obtinerea vinului rosu si a celui alb, consta in succesiunea proceselor de lucru. Astfel, in cazul vinului rosu nu este lasat la fermentat mustul ci mustuiala(strugurii zdrobiti inclusiv pielita, pulpa, seminte), si asta datorita faptului ca pigmentii sunt continuti in coaja fructelor iar acestia sunt eliberati prin actiunea alcoolului rezultat in urma fermentarii. Fermentarea mustuielii poate dura pana la cateva saptamani, iar pe parcursul acestui proces sunt eliberate arome, taninuri si coloranti, dar si polifenoli si alte substante valoroase pentru buchet. La fel ca si in cazul vinului alb, fermentarea la temperatura controlata, de regula intre 20-30 grade, este esentiala pentru calitatea vinului. Doar dupa fermentare, vinul rosu este stors.
Mai intai se extrage ravacul, vinul care este eliberat fara exercitare de presiune. Prin acest proces se obtine un vin rosu aromat, cu buchet fin, destinat consumului imediat. Apoi prin exercitarea presiunii moderate, se optine asanumitul vin de stoarcere. Acesta contine de 4 ori mai multe taninuri decat ravacul, deoarece prin stoarcere se elibereaza tanin din samburi si pieliti. Vinurile rosii de prima stoarcere sunt cel mai bun produs al fermentarii. In cadrul celei de a doua stoarceri, se obtin vinuri rosii foarte concentrate, grele, cu un gust usor amarui. Vinurile rosii alese, sunt lasate la maturat, intre 4-24 luni, in butoaie din stejar, lemnul de stejar eliminand vanilina si tanin in vin. Cunoscand diferentele de obtinere a vinului, putem intelege dictonul marilor cunoscatori: un vin mare este mai mereu un vin rosu. Vinul rosu are un buchet mai bogat si un potential de maturare mai bun, dezvoltandu-si proprietatile si aroma in timpul depozitarii. Un vin rosu superior poate matura timp de 10, 30 sau chiar mai multi ani dezvoltandu-si continuu buchetul si calitatile. Vinurile de Bordeaux din recolte alese si din podgorii renumite, matureaza peste zece ani pentru a atinge apogeul aromei. Vinurile rosii superioare pot fi pastrate chiar si 200 de ani fara sa isi piarda buchetul si proprietatile.
In acest proiect am incercat sa descriu
pe scurt etapele de fabricatie a vinurilor rosii. Obtinerea
vinurilor rosii se bazeaza pe fenomenele caracteristice proceselor de
fermentare - macerare ale mustului, in contact cu bostina, bazate pe
proprietatea pigmentilor antocianici de a se dizolva, in anumite
conditii, in mustul ce se imbogateste treptat in alcool.
In timpul contactului mustului cu bostina, acesta se
imbogateste, in afara de substante colorate
(antociane), si in taninuri, substante azotoase si
substante minerale.
Proiectul meu este structurat pe opt capitole si cuprinde:
In primul capitol am prezentat tema de proiectare a proiectului meu. In
capitolul al doilea este prezentat un memoriu tehnic in care se trece in
revista pe scurt istoricul si importanta acestui proiect. De la
capitolul al treilea incepe cu adevarat proiectul. In acest capitol ne
este prezentata tehnologia de obtinere a vinului rosu si
caracteristicile acestuia. Capitolul al patru - lea este dedicat descrierii
procesului tehnologic adoptat pentru a obtine vinul rosu de buna calitate. In acest capitol
sunt prezentate toate etapele tehnologice de obtinere a vinului rosu
de buna calitate. Etape cum ar fi: Receptia strugurilor, Zdrobirea
si dezciorchinarea strugurilor, Separarea mustului ravac, Presarea
bostinei, Limpezirea musturilor, Metode folosite pentru limpezirea
musturilor. In capitolul al cinci - lea am prezentat pe scurt ce rol are
dioxidului de sulf in vinificatie, acesta fiind foarte important pentru
obtinerea vinului de calitate. Capitolul sase este alcatuit din
caracteristicile materiilor prime pentru fabricarea vinului rosu, care
pleaca de la soiul de strugure si ajunge pana la compozitia
chimica a strugurelui. In capitolul sapte am efectuat bilantul
de materiale pentru obtinerea vinurilor rosii. Iar in capitolul opt
am prezentat cum se poate valorifica subprodusele secundare din industria
vinului. Aceste subproduse sunt: tescovina, semintele strugurelui si
drojdia de vin.
Fabricarea vinului rosu este foarte importanta si trebuie
sa fie respectata in tocmai pentru obtinerea unui vin de
calitate superioara. Vinurile romanesti sunt apreciate atat in
tara cat si peste hotare
3. Tehnologia fabricatiei a vinului rosu:
3.1. Proprietatile Vinului rosu:
Vinul este o bautura alcoolica, obtinuta prin fermentarea
mustului de struguri proaspeti sau stafiditi. Obtinerea vinului
este un proces de lunga durata, care necesita o ingrijire
deosebita, incepand de la recoltarea strugurilor si pana la
invechirea, conditionarea si imbutelierea produsului.
Materia prima, destinata obtinerii vinului, o constituie
strugurii.
Vita de vie (Vitis vinifera) se cultiva pe teritoriul tarii
noastre aproape in toate judetele. Din documentele arheologice gasite
in diverse zone, rezulta ca vita de vie a fost cultivata
din cele mai vechi timpuri, iar vinul era folosit la ospete chiar de
catre geto-daci.
Deoarece clima si solul corespund cultivarii acestei valoroase
plante, in tara noastra se acorda o atentie deosebita
extinderii viticulturii. O trasatura caracteristica a
podgoriilor romanesti o constituie faptul ca viile sunt cultivate pe
terenuri in pante, cu expunere favorabila maturarii strugurilor, pe
soluri nisipoase si calcaroase. Plantarea vitei de vie pe terenuri in
panta, cu inclinatie mare, expuse eroziunilor, se face pe terase
executate mecanic, fapt ce fixeaza. solul, obtinandu-se recolte mari,
de buna calitate.
In urma studiilor facute pe o perioada lunga, prin raionarea
viticulturii s-a stabilit care sunt soiurile care dau cele mai bune rezultate
in fiecare podgorie, atat ca productie la hectar cat si din punct de
vedere calitativ. S-a dezvoltat, in mod special, cultivarea soiurilor de
struguri, de masa, cultivandu-se atat soiuri timpurii cat si soiuri
tarzii, ca sa se asigure consumul de struguri in stare
proaspata, pe toata perioada cat mai indelungata. De
asemenea, se urmareste ca strugurii de masa cultivati
sa aiba boabe mari si carnoase, gustoase, aspectuoase
si rezistente la transport si pastrare.
Prin raionarea soiurilor de struguri pentru vin, s-a urmarit atat, cultivarea
unor soiuri valoroase cat si obtinerea unor vinuri tipizate, cu
caracteristici bine definite. Vinurile romanesti sant apreciate atat de
consumatorii interni cat si de cei externi, obtinand de-a lungul
anilor numeroase premii si medalii la concursurile mondiale.
CONSIDERATII GENERALE
Vinificatia in rosu se deosebeste de vinificatia in alb
prin faptul ca mustul fermenteaza in prezenta substantelor
solide ale boabelor iar presarea se face intr-o anumita etapa a
procesului de fermentatie alcoolica.
Etapa tehnologica cea mai improtanta este macerarea - fermentarea,
prin care se realizeaza extractia din boabele de struguri a
compusilor polifenolici (antociani, taninuri), polizaharide,
substante pectice, proteice, enzime oxidazice, pectolitice etc.
Principiile care trebuie respectate in tehnologia de producere a vinurilor
rosii sunt urmatoarele:
-Recoltarea strugurilor la maturarea
-Desciorchinarea obligatorie a strugurilor
-Extractia polifenolilor din struguri prin procedee tehnologice adecvate.
-Protectia antocianilor de oxidare prin folosirea SO2 in dozele necesare.
-Pastarea aromelor prrimare din struguri.
-Declansarea fermetatiei malolactice la scurt timp dupa
terminarea
fermentatiei alcoolice.
Tehnologia de producere a vinurilor rosii prezinta trei etape
diferite:
-Etapa de receptie si prelucrare a strugurilor care se
finalizeaza cu obtinerea mustuielii desciorchinate;
-Etapa de macerare - fermentare pe bostina pentru extractia
polifenolilor si aromelor prrimare din struguri;
-Etapa de desavarsire a fermentatiei alcoolice, eventual a
fementatiei malolactice cu obtinerea vinului rosu ca produs
finit.
CAPITOLUL II
STADIUL ACTUAL AL CUNOSTINTELOR PRIVIND PROCEDEELE TEHNOLOGICE DE
VINIFICARE IN ROSU
Aspecte de ordin general
Vinificatia in rosu se deosebeste de vinificatia in alb
prin faptul ca mustul fermenteaza in prezenta substantelor
solide ale boabelor, iar presarea se face intr-o etapa a procesului de
fermentatie alcoolica.
Etapa tehnologica cea mai importanta este macerarea-fermentarea prin
care se realizeaza extractia din boabele de struguri a
compusilor polifenolici (antociani, taninuri), polizaharide,
substante pectice, proteice, enzime, oxidazice, pectolitice.
Principiile care trebuiesc respectate in tehnologia de producere a vinurilor
rosii sunt urmatoarele:
~ Recoltarea strugurilor la maturarea fenolica;
~ Desciorchinarea obligatorie a strugurilor;
~ Extractia polifenolilor din struguri prin procedee tehnologice adecvate;
~ Protectia antocianilor de oxidare prin folosirea SO2 in dozele necesare;
~ Pastrarea aromelor primare din struguri;
~ Declansarea fermantatiei malolactice la scurt timp dupa
terminarea
fermentatiei alcoolice.
Tehnologia de producere a vinurilor rosii prezinta 3 etape diferite:
1. Etapa de receptie si prelucrare a strugurilor care se
finalizeaza cu obtinerea
mustuielii desciorchinate;
2. Etapa de macerarea - fermentare pe bostina pentru extractia
polifenolilor si
aromelor prrimare din struguri;
3. Etapa de desavarsire a fermentatiei alcoolice, eventual a
fementatiei
malolactice cu obtinerea vinului rosu ca produs finit.
Stabilirea momentului de recoltare a strugurilor
Strugurii negri se recolteaza la maturarea fenolica atunci cand au
acumulat in pielitele boabelor cantitatile cele mai mari de
antociani. Antocianii se acumuleaza in cantitati mari in ultima
perioada a procesului de maturare si chiar in primele zile dupa
maturarea deplina a strugurilor.
Totusi strugurii negri nu trebuie lasati sa treaca
prea mult in faza de
supramaturare, deoarece antocianii sunt distrusi in parte prin oxidare de
catre enzime
(tirozina, lactaza).
Zdrobirea si desciorchinarea strugurilor
Prin zdrobirea boabelor se usureaza trecerea polifenolilor din
pielite in must, in timpul macerarii - fermentarii pe
bostina.
Desciorchinarea strugurilor e obligatorie deoarece prezenta ciorchinilor
in mustuiala influenteaza negativ calitatea vinurilor
rosii, vinul se imbogateste excesiv in tanin si
capata gustul ierbos de ciorchine. Prin eliminarea ciorchinilor se
face economie de spatii de fermentare dat fiind volumul acestora in masa
bostinei. Prezenta ciorchinilor contribuie la imbogatirea
vinurilor rosii in proantocianidine, cu actiune benefica pentru
organismul uman. Un inconvenient privind prezenta ciorchinilor este ca
acestia absorb o mare cantitate de antocianii difuzati din
pielite in must, pana la 50% si din alcoolul care se
formeaza la inceputul fermentatiei.
Sulfitarea mustuielii
Pe masura introducerii mustuielii in recipienti de macerarie -
fermentarie se face sulfitarea cu doze cuprinse intre 10-15 g SO2/hl
mustuiala. Aceste doze de SO2 maresc extragerea antocianilor din
pielitele boabelor cu 29-35% (Mihalca si colab., 1986).
Sulfitarea se face in mai multe etape pe masura umplerii
recipientilor de mustuiala. Dupa fiecare adaugare de SO2
mustuiala se amesteca pentru omogenizare.
Insamantarea cu culturi starter de drojdii selectionate si
bacterii malolactice
Sunt folosite susele de drojdii sulfitice, rezistente la SO2. se folosesc
maielele de drojdii selectionate in doze de3-5% sau drojdii uscate active
de 10 g/hl mustuiala.
Insamantarea cu drojdii selectionate nu se face imediat
dupa sulfitare ci la cateva ore dupa ultima administrare de SO2
si omogenizarea mustuielii.
Introducere
In regiunile care astazi formeaza spatiul romanesc, vita de vie crestea salbatica,
in urma cu mii de ani. Specia Vitis Silvestris, autohtona in padurile de stejar
subcarpatice, a fost baza celebrei vite dacice. De altfel, cu 700 de ani
inaintea erei crestine, documente antice informeaza ca agathirsii, populatie
care traia in tinuturile de sus ale Vaii Muresului era renumita prin vii
intinse.
Istoricul Gustave Glotz remarca, inca din anul 1925, in volumul
'Civilisation Egeenne': 'Cu mult inainte de a fi consacrata era
lui Dyonysos, vita de vie a format bucuria popoarelor preistorice'. Chiar
traditiile mitologice ale Greciei antice atribuie tracilor si pelasgilor
introducerea vitei de vie in Hellada. 'Razboinicii greci s-au dus in
Thracia sa gaseasca vinul', se spune intr-un vers din Iliada lui Homer.
Vinurile romanesti au fost intotdeauna cautate in Europa, ca de altfel si
tescovina (tighirul). Dimitrie Cantemir noteaza ca din Moldova, vinurile
romanesti ajungeau pana in Tarigrad, Varsovia si Viena, iar cele din Muntenia,
in Turcia si Egipt. Vinurile de Cotnari, Magura, Piatra si Nebuna erau cotate
aidoma cu cele de Tokay, Sauternes, Sanatorin, Rhein si Bourgogne. Insusi
Napoleon, imparatul Frantei, prefera vinul de Cotnari.
Lucrarea de fata isi propune evaluarea calitatii vinului rosu. Am ales acest
produs deoarece este o bautura rafinata, plina de eleganta, ce aminteste de o
indeletnicire importanta in trecutului poporului roman. Spatiul geografic
romanesc a fost in mod traditional cel mai mare producator de vinuri din
Europa, dupa cele 3 mari puteri viticole: Franta, Italia si Spania.
Capitolul 1: Caracterizarea generala a vinului din struguri rosii
Prezentarea vinului
Vinul (din latina:vinum "vita") este o bautura obtinuta exclusiv prin
fermentatia alcoolica totala sau partiala a strugurilor proaspeti,
zdrobiti sau nu, sau a mustului de struguri. Vinul este un produs
agroalimentar, la care folosirea de arome sau de extracte este interzisa.
Singura aromatizare acceptata este cea datorata contactului vinului cu lemnul
de stejar al butoaielor in care se pastreaza.
Nu se pot numi "vinuri" bauturile obtinute prin fermentatia unor fructe,
flori sau din alte ingrediente, de exemplu vin de soc, prin cuvantul vin
intelegandu-se intotdeauna vin de struguri.
Productia vinului a inceput in Egiptul Antic, cand egiptenii si-au dat seama ca
sucul de struguri se strica repede, dar ca sucul fermentat sau vinul se
pastreaza bine. Ei aveau probleme, de asemenea, cu apa de baut, care era
impura, si au observat ca daca beau vin nu se imbolnaveau. Mai tarziu, vinul a
devenit important pentru biserica Romano-Catolica, intrucat era folosit la
oficierea sfintei liturghii.
Dupa modelul clasificarii stiintifice merceologice, acceptat in mare masura pe
plan international, vinul se incadreaza in grupa a-4-a si anume: "Produse
gustative: condimente, stimulente, bauturi nealcoolice si alcoolice". Consum de
vin este unul moderat, in mod normal in timpul meselor - nu mai mult de 1 -2
pahare pe zi pentru barbati si 1 pahar pe zi pentru femei. In recomandarile
recente pentru sanatatea publica, vinul este considerat optional si ar trebui
evitat in timpul sarcinii sau atunci cand pune sanatatea individului in
pericol.
Vinurile se clasifica dupa:
- culoare
- continut in alcool (vinul are intre 8,5-15% alcool)
- continut in zahar (vin sec, vin demisec, vin demidulce, vin dulce)
- efervescenta
Lucrarea noastra isi propune analizarea vinurilor din struguri rosii, care pot
si subclasificate in superioare si de consum curent.
Materii prime utilizate in obtinerea vinului
Strugurii reprezinta principala materie prima de obtinere a vinului. Acestia au
proprietati dietetice si curative, reprezentand un produs alimentar valoros.
Astfel, 1 kg de struguri echivaleaza dupa valoarea nutritiva cu 1,5 kg mere, 2
kg piersici, 3 kg portocale, iar 1 1 suc de struguri - cu 1,7 1 lapte de vaca,
0,6-0,7 kg de carne, 1 kg peste, 0,3 kg branza, 0,5 kg paine, 5-8
oua, 1,2 kg cartofi, 3 kg rosii. Strugurii contin diferite vitamine: A, B,
C, P, PP, diferiti acizi organici, saruri minerale si aproape toate elementele
din sistemul periodic. Stugurii sunt formati din ciorchini(3-7%) si boabe.
Boabele sunt alcatuite din pielita (7-11%), miez (85-90%) si seminte (3-5%).
Industria vinicola ca ramura
principala a economiei din R.M. este cu adevarat o mindrie
nationala. Traditiile vechi si ultimele realizari ale
tehnicii moderne fac ca vinurile moldovenesti sa fie cunoscute in
tara si peste hotarele ei. Vestitele microzone Purcari, Ciumai,
Onesti, Cricova duc faima vinurilor moldave din cele mai vechi timpuri pina-n
prezent.
Republica Moldova dispune de conditii pedoclimaterice favorabile pentru
dezvoltarea viticulturii si vinificatiei si a obtinut
rezultate exceptionale in perioada postbelica. Punctul culminant in
sectorul vinicol a fost atins in prima jumatate a anilor 80, cind
suprafata viilor era de 220 mii hectare, recolta medie de struguri - 6
t/ha, iar recolta globala 1150 mii tone. Aceste schimbari pozitive au
fost posibile datorita reconstruirii plantatiilor si sortimentul
prin inlocuirea soiurilor de hibrizi direct producatori,
perfectionarea tehnologiilor de producere, la fel si crearea bazei
pepineristice, care produce anual 32 mln vite altoite.
Volumul productiei de vinuri din struguri in anii 80-85 a constituit circa
42 mln. dal. Dupa aceasta perioada prospera urmeaza o
perioada de scadere a productiei care contina
pina in ziua de azi. Aceasta se datoreaza in principal reducerii
suprafetelor de vii din ultimii 15 ani, care s-au redus aproximativ de 2
ori, recolta globala de struguri de 2,5 ori. Sa redus la fel si media
anuala a volumului productiei de vinuri din struguri de la 42 mln dal
in 81-85 si 32 mln dal in 1991-95 la circa 15 mln dal in ultimii cinci
ani. Sectorul vinicol include in sine producerea si imbutelierea vinului
si a altor produse vinicole pe baza de struguri.
Problemele actuale cu care se confrunta fabricile de vin tin in
primul rind de baza de materie prima.
Se stie ca cele mai solicitate si mai bine vindute pe piata
nationala si mondiala sunt vinurile din struguri de
soiurile: Cabernet-Sauvignon, Merlot, Chardonnay, Sauvignon.
In Republica Moldova aceste soiuri ocupa o suprafata mai
mica de 30%. Pe cind soiuri ca Aligote, Rcatitelli la fel ocupa
cam 30% insaele nu prezinta mare potential pentru dezvoltarea
exporturilor.
O alta problema este calitatea materiei prime: maturarea
insuficienta a strugurilor receptionati pentru prelucrare, are
ca consecinta gradul redus al alcoolului din vinul fabricat si
se soldeaza in final cu cheltuieli economice suplimentare pentru tratarea
suplimentara a vinurilor in scopul asigurarii stabilitatii
lor ulterioare.
Vinurile din cauza gradului redus de alcool se pot vinde doar la un pret
foarte mic. De aceea in producere este admisa procesul de saptalizare
ceea ce necesita cheltuieli mari.
Vinul este bautura obtinuta
exclusiv prin fermentarea alcoolica completa sau partiala a
strugurilor proaspeti, zdrobiti sau nezdrobiti, ori a mustului
de struguri. Taria alcoolica a vinului nu poate fi mai mica de
0,5% vol. Istoria vinului este inseparabila de istoria
umanitatii.
Vinul, produsul vitei de vie si al muncii omului, nu trebuie
considerat ca un simplu si banal bun de consum. Insotitor al omului
de mii de ani, vinul satisface increderea cunoscatorului venerabil, cat
si a profanului. El este o conditie a dezvoltarii economice, a
progresului tehnologic si stiintific in numeroase regiuni din
Europa si din lume.
Tehnologia vinului este stiinta care se ocupa cu studiul
metodelor de procesare a strugurilor in vederea obtinerii mustului, a
procedeelor de obtinere a vinului, a metodelor de conditionare,
maturizare si invechire, in scopul realizarii unor produse finite
care sa corespunda legislatiei actuale si exigentei
consumatorilor.
La inceput, producerea vinului reprezenta o activitate casnica, cu
elemente tehnologice rudimentare. Procesarea strugurilor, obtinerea
vinului, conditionarea, maturizarea si imbutelierea vinului, acum se
realizeaza folosind masini si utilaje perfectionate care
reclama cunostintele de mecanizare, automatizare si mai nou
de cibernetica. In tarile cu traditie vitivinicola, ca
de altfel si in tara noastra, procesarea strugurilor,
obtinerea vinului, conditionarea, maturizarea, invechirea,
imbutelierea si livrarea vinului se realizeaza in unitati
de vinificatie moderne - amplasate in podgorii si centre viticole cu
renume.
Vinurile de calitate superioara cu denumire de origine controlata DOC
si cele cu denumire de origine si trepte de calitate DOCC poarta
numele vinului sau sortimentelor de vinuri si a arealului delimitat de
locul unde s-au obtinut vinurile, precum si anul de recolta cum
este: Merlot-Minis 1986, Pinoit noir-Baratca 1990, Chardonnay-Murfatlar
1993. Vinurile de calitate superioara poarta denumirea soiului sau
sortimentelor de soiuri a podgoriei, centrului sau plaiului viticol de exemplu:
Feteasca regala-Dragasani, Oporto-Minis,
Babeasca-Tulcea, etc.
Vinurile, ca urmare a diversitatii materiei prime, tehnologiilor de
vinificare si nu in ultimul rand a considerentelor de ordin economic, se
clasifica in urmatoarele categorii:
- Dupa culoare se disting: vinuri albe, rosii si roze;
- Dupa aroma: vinuri aromate si nearomate;
- Dupa continutul in zaharuri vinurile se grupeaza astfel:
- vinuri seci;
- vinuri demiseci;
- vinuri demidulci;
- vinuri dulci;
- vinuri obtinute prin procedee clasice.
- Dupa modul de obtinere vinurile pot fi:
- vinuri obtinute prin procese clasice;
- vinuri speciale obtinute prin aplicarea unor tratamente autorizate. Din
acesta categorie fac parte: vinuri spumante, vinuri spumoase, vinuri
aromatizate, vinuri licoroase.
- Dupa caracteristicile calitative de compozitie si de
tehnologia obtinerii vinurile pot fi:
- vinuri de consum curent - cu o tarie alcoolica dobandita de
minim 8,5% mol. In functie de taria alcoolica acestea pot fi:
vin de masa 8,5 - 9,5% mol., vin de masa superior peste 9,5% mol;
- vinurile de calitate se obtin din soiuri sau sortimente de soiuri cu
taria alcoolica de 10% vol. In functie de nivelul lor calitativ
sau sortiment de soiuri vinurile pot fi: vinuri de calitate superioara -
10% vol, vinuri de calitate superioara cu denumire de origine - 10,5% vol,
vinuri cu denumire de origine controlata, vinuri cu denumire de origine
controlata si trepte de calitate;
vita de vie struguri
rosii struguri albi




Fermentare must Fermentare
in rezervoare

Depozitare vin Vin Vinoteca


COMPETENTE TEHNICE SPECIALIZATE
Unitatea de competenta 18 Vinificarea strugurilor
Competenta 18.1 : Pregateste utilajele pentru prelucrare
Competenta 18.2 : Obtine mustul de struguri
Competenta 18.3 : Obtine vinul nou
Unitatea de competenta 19 Ingrijirea si conditionarea vinului
Competenta 19.1: Pregateste vasele pentru depozitare
Competenta 19.2: Executa ingrijirea vinului.
Competenta 19.3: Realizeaza conditionarea vinului
OBIECTIVE
Dupa parcurgerea acestor unitati de competenta veti fi capabili sa :
- identificati vasele, aparatele si utilajele
- preparati solutii de spalare si dezinfectare.
- spalati si dezinfectati vasele,aparatele si utilajele
- intretineti vasele, aparatele si utilajele
- descrieti structura strugurilor
- sortati strugurii
- executati zdrobirea-desciorchinarea strugurilor
- executati scurgerea mustului
- executati presarea bostinei
- recunoasteti aparatele de fermentare
- prezentati factorii care influenteaza fermentarea mustului de struguri
- identificati fazele de fermentare
- prezentati etapele de control si metodologia de dirijare a fermentarii mustului de struguri
- identificati vasele pentru depozitare
- spalati si dezinfectati vasele si ustensilele
- intretineti vasele
- pregatiti butoaiele si budanele pentru umplerea golurilor
- efectuati umplerea golurilor
- indicati momentele realizarii pritocului
- realizati pritocul
- prezentati materialele pentru limpezire
- preparati gelurile pentru limpezirea vinului
- deserviti utilajele folosite pentru limpezire
- respectati normele de protectie a muncii la depozitare, ingrijire si conditionare vin.
Pregatire utilaje pentru prelucrarea strugurilor
|
Vase, aparate si utilaje |
Parti componente |
|
Cada simpla |
|
|
Cada de fermentare pe bostina |
|
Zdrobitor-desciorchinator
Lin inaltat
![]()

Presa mecanica
7,8 Cap de presare
9. Volanta de presare
Spalarea vaselor si a linului inaltat se fac conform schemei :
![]()
![]()
2.Razuire cu spaclu spaclu 5.
Spalare cu apa
6.
Zvantare 3.
Spalare cu apa
![]()
![]()

ATENTIE
- afumarea se face numai la vasele zvantate pentru prevenirea aparitiei mirosului de sulf
- este obligatorie folosirea echipamentului de protectie: cizme, sort de cauciuc, masca de gaze, salopeta
- este obligatorie fixarea unei placute de avertizare ATENTIE! SO2
![]()
![]()
![]()
![]()

Struguri albi Struguri rosii
Sortare
struguri![]()

Struguri sanatosi Struguri mucegaiti

![]()
seminte
pielita
miez
Structura bobului de strugure
|
Operatii |
Denumire utilaj |
Fractiuni rezultate |
||||||
|
mustuiala ciorchini struguri |
zdrobitor-desciorchinator |
|
||||||
|
scurgere must |
lin inaltat | |||||||
|
must presa tescovina bostina |
presa mecanica |
|

![]()
![]()

1 - verificarea
prezentei aparatorilor de
protectie
3 - legarea pompei
2 -
verificarea fixarii furtunului de evacuare
cu linul
inaltat
I. Pregatire utilaj
![]() |
|||||
|
|||||
|
|||||
1.
Actionare buton de comanda 3.
Verificare ciorchini
|
|

- Nu se alimenteaza cu mana sau cu furca
- Se interzice introducerea mainii in cosul zdrobitorului
- In cazul unor defectiuni se intervine numai dupa oprirea utilajului
de la tabloul de comanda
|
APARATE DE FERMENTARE |
DENUMIREA APARATELOR |
|
|
Cada simpla |
|
|
Cada deschisa cu caciula scufundata |
|
|
Cada inchisa |
FAZELE FERMENTARII
|
FAZA |
CARACTERISTICI |
||||
|
I de amorsare |
. 1-2 zile . inmultire drojdii . tulburare must |
||||
|
CO Spuma II-a - tumultoasa |
. 4-7 zile . degajare puternica de CO2 . cresterea temperaturii . formarea alcoolului etilic |
||||
|
III-a - linistita |
. 1-3 saptamani . degajare redusa de CO2 . depunere drojdii . limpezire vin |
Pregateste vasele pentru depozitare
|
VASE PENTRU DEPOZITARE |
DENUMIRE |
|
|
Butoaie |
|
|
Butoaie si Budane |
|
|
Cisterne |
Etapele spalarii si dezinfectarii vaselor de lemn.
Alegere materiale : perii, solutii de spalare, solutie de dioxid de sulf
Spalare cu jet de apa si prin periere
Spalare cu solutie de hidroxid de sodiu
Spalare cu jet de apa
Zvantare
Introducere solutie de dioxid de sulf
Inchidere vas
Stiati ca ...
Dezinfectarea se face numai dupa zvantarea vaselor ?
Butoaiele sunt utilizate pentru depozitarea cantitatilor mici de vin de calitate ?
Butoaiele in care s-a pastrat vinul rosu se trateaza cu solutie de permanganat de potasiu pentru decolorare ?
Vasele mucegaite se perie si se spala cu solutie fierbinte de hidroxid de sodiu sau acid sulfuric 10 % ?
Vasele otetite se aburesc, apoi se spala cu solutie de soda si se clatesc ?
Apa folosita la oparire se scurge imediat, cand este fierbinte ?
Vasele goale se pastreaza in stive si se afuma la 2 luni ?
Ingrijirea vinului consta in :
Facerea plinului (umplere goluri)
Pritocul
Egalizarea si cupajarea vinurilor
Facerea plinului este operatia de mentinere a vaselor in permanenta pline.
Etapele umplerii golurilor:
Pregatire vase: - dezinfectare vrana cu solutie de 1-2 % SO2
- scoatere dop
- examinarea aspectului si mirosului vinului
pentru sesizarea defectelor
Umplere goluri: - adaugare vin cu o cana sau galeata si palnie,
pana la vrana
Stiati ca .. - punere dop
Vinul folosit la umplerea golurilor este un vin sanatos si limpede ?
Floarea de la suprafata vinului se elimina prin umplere cu vin peste nivelul vranei ?
Dupa inchiderea vasului se sterge suprafata vasului si pardoseala de urmele de vin ?
Plinul se efectueaza cand se constata prezenta golurilor in vase ?
Pritocul (pritocire, ravacire) - operatia de tragere a vinului de pe drojdie.
Vin
limpede
pritoc
![]()
VIN
Drojdie
Momentele efectuarii pritocului depind de:
- limpezirea vinului
- depunerea sedimentului
I. - se efectueaza la 2-4 saptamani dupa terminarea fermentatiei
II. - la 1-3 luni dupa primul pritoc
III. - la inceputul primaverii
IV.- la inceputul toamnei anului urmator
Etapele
efectuarii pritocului

1. pregatire vas
2. legarea pompei
3.deschidere robinet
4. pornirea pompei
5. supravegherea transvazarii
2,
4, 6
Filtrare

Deservirea filtrului cu placi
I. Montarea filtrului
3. Urmarire limpiditate si presiune
1. Deschiderea robinetelor de alimentare si de
evacuare vin

2. Pornire pompa
![]()
![]()
II.Supravegherea filtrarii
2. Scoaterea cartoanelor 1. Actionarea dispozitivului
![]()

filtrante de
strangere
III. Demontarea filtrului

1. Spalarea
cu jet de apa 2. Stropire cu
![]()
![]()
solutie
de SO2
IV.Spalarea
Stiati ca. Cartoanele filtrante se monteaza cu fata neteda in directia iesirii vinului ?
Prin filtrarea cu placi filtrante se retin microorganismele din vin ?

Cada simpla Cada de fermentare pe bostina Zdrobitor-desciorchinator

Lin inaltat Presa mecanica
|
|
|
Budane si butoaie Cisterne
|
Politica de confidentialitate |
| Copyright ©
2025 - Toate drepturile rezervate. Toate documentele au caracter informativ cu scop educational. |
Personaje din literatura |
| Baltagul – caracterizarea personajelor |
| Caracterizare Alexandru Lapusneanul |
| Caracterizarea lui Gavilescu |
| Caracterizarea personajelor negative din basmul |
Tehnica si mecanica |
| Cuplaje - definitii. notatii. exemple. repere istorice. |
| Actionare macara |
| Reprezentarea si cotarea filetelor |
Geografie |
| Turismul pe terra |
| Vulcanii Și mediul |
| Padurile pe terra si industrializarea lemnului |
| Termeni si conditii |
| Contact |
| Creeaza si tu |