Constructia contactoarelor electromagnetice
Elementele componente ale unui contactor sunt :
circuitul principal de curent (borne de racord la circuitul exterior , contacte fixe si contacte mobile) ;
circuitul de comanda (bobina electromagnetului de actionare , contactele de auto -retinere si butonul de comanda) ;
circuitele auxiliare (contactele de blocare , semnalizare) ;
dispozitivele de stingere a arcului electric (camerele de stingere , bobinele de suflaj) ;
In constructia unui contactor
mai intra elemente izolante, elemente metalice ( altele decat cele
conductoare) cuva de ulei cu capac (numai la contactoarele cu ulei ) elementele
de fixare, carcasa. La fig. 1 este
aratata schema unui contactor cu miscare de rotatie .
Fig. 1. Schema de principiu a unui contactor cu miscare de rotatie.
a-schema constructiva; b-schema electrica;
1-contact fix; 2 contact mobil;3-armatura electromagnetului; 4-legatura flexibila; 5-electromagnet; 6-infasurare;7-camera de stingere; 8-buton de comanda; 9-resort de deschidere; 10-placa de baza; 11-borna de racord; I-circuir principal; II-circuit de comanda.
1 Contactele si caile de curent
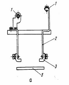
Un contactor are una sau mai multe cai de curent , in functie de numarul polilor de curent calea de curent este formata din : borne de intrare si de iesire , contactele fixe si mobile , suportii metalici ai acestora si eventual conductorii rigizi sau flexibili care fac legatura intre borne si suportii contoarelor. (fig.2)
|
a-contactor cu translatie verticala |
b-contactor cu translatie orizontala |
c-contactor cu rotatie |
Fig. Caile de curent ale contactoarelor
1-borna; 2-suport contact; 3-contact fix; 4-contact mobil; 5-punte; 6-conductor flexibil; 7-papuci de cablu.
Dupa modul de realizare a imbinarii de contact se deosebesc 2 tipuri de contacte:
contactele permanente sau neamovibile care raman intotdeauna inchise in timpul functionarii;
contacte deplasabile sau amovibile care stabilesc sau intrerup circuitele principale sau auxiliare, forta de apasare necesara acestor contacte fiind asigurata de resorturi .
La contactoarele de rotatie cu contacte din cupru , piesa de contact si suportul ei sunt astfel realizate incat sa o asigure de rostogolire si de frecare .
Din punct de vedere al formarii geometrice se deosebesc 3 tipuri de baza :
contacte plane sau de suprafata
contacte liniare la care contactul se realizeaza pe o linie
contacte punctiforme -contacte sfera plan in general folosite la contoarele de c.a pentru contactele de argint .
Circuitul de comanda
La contactoarele de c.c se folosesc uzuali electromagneti de tip clapeta iar la cele de c.a electromagneti de tip U si E cu miscarea de translatie sau de rotatie.
Electromagneti de c.c. In cazul electromagnetilor de actionare de c.c, intensitatea curentului care circula prin bobina, depinde numai de rezistenta electrica , pierderile in cupru fiind singura sursa de caldura. Intensitatea curentului fiind independenta de pozitia miezului mobil , permite ca acesta sa poata fi oprit intr-un punct oarecare al cursei obtinandu-se o functionare linistita prin introducerea unui opritor si reglabil care elimina zgomotul metalic provocat de lovirea miezului mobil de cel fix.
Electromagneti de c.a. La acesti electromagneti apar solicitari cu valori diferite fata de electromagnetii de c.c. Astfel fenomenele de histerezis si Foucault, prin curenti care le creeaza produc o incalzire a circuitului magnetic. Folosirea tolelor din fier-siliciu pentru reducerea acestor pierderi din circuitul magnetic duc in mod natural la obtinerea unor sectiuni rectangulare. Socurile magnetice sunt mai accentuate , iar in pozitia inchis se produc vibratii longitudinale ale armaturii mobile .
Pentru reducerea acestora se rectifica suprafetele polare ale miezurilor sau se introduce o spira in scurtcircuit obtinandu-se un camp magnetic defazat (fig. 3).

Fig. 3. Spira in scurtcircuit (dimensionare)
3. Dispozitivele de stingere a circuitului electric
Pentru stingerea circuitului electric de c.c se folosesc frecvent la contactoare camere de stingere inguste cu fonta dreapta sau ondulata si camere de stingere cu pereti transversali din material izolant refractor. Arcul este suflat de pe contacte spre peretii camerei de stingere cu ajutorul unui electromagnet de suflaj.
Pentru stingerea arcului de curent alternativ, la contactoarele de joasa tensiune se folosesc ca predilectie camerele cu placute metalice (fig. 4).
Fig.4. Camera de stingere pentru c.a.
a-cu placate metalice asezate radial: b- cu placate metalice pentru rupere dubla
Pentru asigurarea unei bune conductibilitati superficiale se obisnuieste ca placutele sa se cupreze ceea ce imbunatateste rezistenta la actiunea mediului exterior .
4. Relee termice
Instalatia de protectie prin relee este
formata din totalitatea aparatelor si dispozitivelor destinate sa asigure
deconectarea automata a instalatiei in cazul aparitiei regimului anormal de
functionare sau de avarie (defect), periculos pentru instalatia electrica: In
cazul regimurilor anormale care nu prezinta pericol imediat, protectia
semnalizeaza numai aparitia regimului anormal.
Deconectarea instalatie electrice se efectueaza de catre intrerupatoare, care
primesc comanda de declansare de la instalatia de protectie. Se realizeaza
separarea partii cu defect de restul instalatiei
-limitarea dezvoltarii defectului, ce se poate transforma intr-o avarie la
nivelul sistemului:
-preintampinarea distrugerii instalatiei in care a aparut defectul:
-restabilirea regimului normal de functionare, asigurand continuitatea in
alimentarea cu energie electrica a consumatorilor Pentru comanda
si protectia motoarelor electrice de c.a sunt folosite contactoarele
cu relee termice denumite si demaroare magnetice. In cazul folosirii unor asemenea contactoare
este necesar sa se asigure in protectia cu sigurante fuzibile sau
intreruptoare automate de linie.
Protectia contra suprasarcinilor prin relee termice se bazeaza pe principiul imaginii termice. Releele termice cu bimetal sunt relee maximale de curent, inzestrate cu un element de control a carui temperatura vireaza in sensul variatiei curentului si cu un dispozitiv care produce declansarea contactorului cand aceasta temperatura depaseste o limita prestabila. O lamela bimetalica are proprietatea de a se incovoia puternic la incalzire, prezentand la capat o sageata de 70 de ori mai mare decat dilatarea la aceeasi temperatura a unei lamele similare din material cu coeficient mare de dilatare.
Din punct de vedere al modului de incalzire deosebim :
incalzire directa - cand curentul trece chiar prin lamela bimetalica
incalzire indirecta - care este de doua feluri cu infasurare si prin radiatie
incalzire mixta - in care curentul trece atat prin elementul bimetalic cat si printr-o rezistenta incalzitoare .
Tipurile de incalzire sunt prezentate in fig. 5.
|
Incalzirea directa a bimetalelor a-lamela dreptunghiulara; b-lamela in forma de U. |
Incalzirea indirecta a bimetalelor a-cu infasurare; b-prin radiatie. |
Incalzirea mixta a bimetalelor a-cu infasurare; b-prin radiatie. |
Fig . Tipurile de incalzire a bimetalelor
Pentru a evita necesitatea revizuirii continue a reglajelor releelor in exploatare , releele termice moderne se construiesc cu o lamela compensatoare , care are rolul de a elimina influenta temperaturii ambiante .
|
Politica de confidentialitate |
| Copyright ©
2025 - Toate drepturile rezervate. Toate documentele au caracter informativ cu scop educational. |
Personaje din literatura |
| Baltagul – caracterizarea personajelor |
| Caracterizare Alexandru Lapusneanul |
| Caracterizarea lui Gavilescu |
| Caracterizarea personajelor negative din basmul |
Tehnica si mecanica |
| Cuplaje - definitii. notatii. exemple. repere istorice. |
| Actionare macara |
| Reprezentarea si cotarea filetelor |
Geografie |
| Turismul pe terra |
| Vulcanii Și mediul |
| Padurile pe terra si industrializarea lemnului |
| Termeni si conditii |
| Contact |
| Creeaza si tu |