Se considera
o curgere plana, de viteza u1,
care intalneste un diedru plan al carui unghi este 2θ. Muchia diedrului, care vine prima in contact cu curgerea, este
initiatoarea undei de soc oblice (figura 3.1), unda care face cu
directia initiala a curentului unghiul
In spatele undei de soc oblice curentul va avea viteza
V2 si
directia paralela cu diedrul, deci va face unghiul 6 cu directia
initiale de curgere.

fig. 1
Ca si viteza V1,
viteza V2 este
tot supersonica, spre deosebire de unda de soc normala unde viteza
din aval era subsonica. Componentele vitezei V2 de dupa
unda de soc vor fi:![]()
si
, astfel incat:

Se pot descompune cele doua viteze, V1 si V2, in raport de directia normala la unda de soc (indice n) si de directia tangenta undei (indicele t
(1)
(2)
(3)
Asadar necunoscutele sunt u2,
v2, p1,
si se pot determina din ecuatiile de continuitate, impuls (pe cele doua
directii) si presiune:
- ecuatia de continuitate:
(4)
- ecuatia impulsului:
(5)
(5')
- ecuatia presiunii:
(6)
Din ecuatiile (4) si (5') rezulta:
, (7)
iar daca se tine cont si de expresiile(3) se obtine
(8)
Unghiul
va fi dat de:
(9)
Egalitatea componentelor tangentiale conduce la observatia ca, unda de soc oblica poate fi considerata o unda de soc normala translatata cu viteza ut (ut = u1t=u2t) dupa o directie pe care o face unghiul P cu directia curgerii, in aceste conditii componentele normale ale vitezei satisfac relatiile de la unda de soc normala:
(10)
(11)
(12)
(13)
Din faptul ca numerele Mach ale curgerii normale confirma rezultatele obtinute la unda de soc normala rezulta:
(14)
unde:
(15)
(15'')
Relatiile (14) se mai pot scrie, prin analogie cu unda normala:
(16)
Relatia dintre M1n si M2n similara cu cea de la unda normala:
(17)
si expresia entropiei:
(18)
In practica, problemele referitoare la unda de soc
oblica rezida in determinarea parametrilor din aval si a
unghiului p, atunci cand se cunosc parametrii din amonte si unghiul 0. De
obicei se cunosc M1,p1,T1,
(evident si p1*,T1*,
* )
si s1 pentru
curgerea amonte si semiunghiul
al diedrului plan
si se cer M2,p2,T2,
( p2*,T2*,
* )s2
Si
unde ultimul parametru se defineste ca si la unda
de soc normala.
(19)
si este coeficientul de pierdere de presiune totala.
Din relatia:
(20)
Daca se inlocuieste u1n din (3.3'), u2n si ut din (3.2), (3.3'), (3.8), se obtine
(21)
sau, tinand cont de (15) si (17), relatia ultima se transforma in
(22')
sau:
(22'')
Pentru ca unda de soc sa fie oblica, iar curgerea
sa fie in continuare supersonica si in aval, unghiul P, dat de (22') sau (22'), va
trebui sa fie mai mic decat
,unghiul limita maxim posibil pentru un M1 dat.
In cazul cand, intr-o curgere supersonica, in locul diedrului plan se gaseste un
corp de revolutie, caracterul curgeri in jurul acestui corp se schimba, aceasta devenind axial - simetrica, in cazul in care corpul de revolutie este un con, varful acestuia amorseaza o unda de soc, de asemenea de forma conica, al carei unghi depinde, ca si in cazul undei plane, de unghiul la varf al corpului perturbator si de viteza (numarul Mach) din amonte (fig.2).

fig. 2
Intrucat curgerea in aval este axial-simetrica, deci poate fi considerata bidimensionala in fiecare plan meridian, modelul matematic se va elabora in coordonate polare.
Ecuatia miscarii va fi, conform [15]:
(23)
unde vR,ve sunt componentele vitezei V2 in planul
meridian, R si G
sunt coordonatele curente in planul meridian, iar a este viteza sunetului. Cum unda de soc
oblica, in planul meridian, coincide cu directia razei vectoare R, pentru
in
ecuatia (23) variabila 9 este singura independenta, de aceea
miscarea se numeste conica.
Potentialul miscarii poate fi considerat, in aceste conditii, ca fiind de forma:
, (24)
de unde componentele vitezei dupa unda de soc vor fi:
(25)
Ecuatia (3.28) devine, inlocuind expresiile (3.30):
, (26)
deci o ecuatie diferentiala de ordinul al doilea in V, avand conditiile la limita:
- la suprafata conului, cand
viteza
(27) adica
fluidul nu patrunde prin suprafata conului;
- la suprafata undei de soc conice,
unde 6 = 65, sunt valabile, local, concluziile de la unda de soc
oblica plana, adica viteza in lungul undei vr =V1cos
. iar viteza perpendiculara pe unda,
satisface conditia
(28)
unde V1 este viteza amonte.
Ecuatia (26) nu are o solutie
analitica simpla, care sa fie obtinuta prin integrare,
dar, conform [15, 13] , poate fi considerata foarte mica valoarea
numarului Mach dupa unda de soc, pe directia
perpendiculara pe aceasta, altfel spus
, iar
este cu atat mai mic. Rezulta ca ecuatia (26)
va avea forma:
, (29)
a carei solutie este de forma:
(30)
sau:
(31)
unde A si B sunt constantele de integrare.
Introducand si conditiile la limita (27)
si (29), constantele A si B se deduc ca fiind :
![]()
Semi-unghiul
al undei de soc conice rezulta din ecuatia
transcendenta obtinuta din (27)
si (33).
Pierderea de presiune prin unda de soc se va calcula cu aceeasi relatie ca si la unda de soc normala, dar numarul Mach aval va fi calculat cu ajutorul vitezei aval normale la unda de soc, asa incat se va obtine:
Ceilalti parametri din aval pot fi obtinuti in mod similar. Cu toate acestea, unda de soc conica prezinta unele deosebiri esentiale fata de unda de soc oblica plana [3,5]:
- unghiul de deviere a fluidului la trecerea prin unda de soc
este mai mic decat unghiul
de evazare a conului; practic in oricare punct al curgerii aval unghiul
<
unde
(figura 3).

fig. 3.
- toate liniile de
curent sunt deviate cu acelasi unghi
- curgerea dupa unda conica este proportionala, deci izentropica, in tot spatiul dintre conul solid si unda de soc;
- saltul de entropie se realizeaza numai prin unda de soc, fiind constant pe toata intinderea undei, diferenta ΔS fiind calculata inlocuind pe M1 cu M1n;
- pe o linie de curent din avalul undei de soc viteza de curgere scade continuu, presiunea statica va creste;
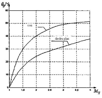
- semiunghiul limita de evazare al corpului perturbator functie de numarul Mach amonte este mai mare pentru un con decat pentru un diedru plan (figura 5) deci unda conica se detasaza mai greu decat unda plana [3,5, 15], deoarece curgerea axial - simetrica acopera si zonele laterale ale conului, nu numai zonele superioare si inferioare, ca in cazul diedrului plan;
- miscarea nu mai ramane uniforma in spatele undei conice, fiind posibile trei situatii (figura 4), respectiv curgere complet supersonica, curgere complet subsonica, sau curgere mixta, care incepe cu o zona supersonica imediat dupa unda de soc, se atinge valoarea M= l la o anumita raza vectoare, numita linie sonica, dupa care curgerea devine subsonica in apropierea conului solid. Curgerea mixta in avalul undei de soc apare in cazul scaderii vitezei in amonte (M1 < 1,4).

fig. 4.
Fig. 5
Considerand unda de soc normala intr-o sectiune oarecare a dispozitivului (fig. 6), se poate determina, pornind de la cunoasterea parametrilor din amonte, distributia parametrilor in avalul dispozitivului, la intrarea in compresor.

fig. 6
Pentru parametrii din amontele undei de soc se va folosi indicele 'l', iar pentru cei din aval indicele '2'. Se cunosc: viteza c, densitatea p, presiunea p, temperatura T in amontele undei si se cauta determinarea acelorasi parametri in avalul undei de soc. Unda de soc reprezinta o discontinuitate de dimensiune axiala extrem de mica, deci se pot aplica ecuatiile de conservare cunoscute din mecanica fluidelor:
ecuatia de continuitate (conservarea debitului)
unde A1=A2,deci
ecuatia de conservare a impulsului:
deci, practic:
-ecuatia energiei (entalpiei totale):
unde k este exponentul adiabatic, ecuatie care poate fi extinsa si in functie de parametrii regimului critic:
Din relatia (1') si (2') rezulta:
(43)
si dupa inmultirea cu (
se obtine :
Din
faptul ca
si
rezulta alta forma pentru (6) :
Din ecuatia energiei (3) se obtine:
ecuatie care alaturi de (7) conduce la
sau impartind cu
in ambi membri si grupand convenabil
termeni, se obtine ecuatia adiabatei de soc, sau ecuatia
Hugoniot - Rankine:
Se observa ca, relatia (10) este diferita de
ecuatia cunoscuta a adiabatei reversibile (izentropice) :
, deci
trecerea prin unda de soc se realizeaza cu variatia de entropie
(fig.). Alta forma a relatiei (10) poate da raportul vitezelor
fluidului :
Determinarea vitezei dupa unda de soc se face din (3) si (5).
de
unde:
(51)
, (52)
respectiv
ecuatia Prandth, unde 'a' este viteza sunetului pentru fluidul
in repaus, iar 'ac' reprezinta acea viteza a
sunetului egala cu viteza curgerii, in conditiile in care se introduc
numarul Mach M=c/a si coeficientul de viteza
, se obtine:
(53)
(57)
(58)
(59)
(60)
Ecuatia Prandth devine:
sau folosind numerele Mach M1 si M2:
(62)
Rezulta ca, numarul Mach dupa unda de soc M2 poate fi exprimat in functie de numarul Mach M1 din fata undei:
(63)
deci M2< M1. Saltul de presiune, de la p la p2 se exprima inlocuind in termenii p cu c din relatiile anterioare, adica:
In functie de numarul Mach M1 se va obtine:
(65)
relatie care, in conditiile in care numarul Mach amonte este supersonic M1 > l , iar exponentul adiabatic al aerului k este 1,405 , va avea intotdeauna valori supraunitare, deci p2 > p1. Rezulta de aici ca adiabatica de soc Hugoniot - Ronkine, inceputa in starea l, va avea finalul spre stanga, intr-o stare 2 la o presiune mai mare.
Variatia de entropie specifica prin unda de soc se
exprima prin coeficientul de pierdere de presiune
se defineste ca fiind raportul:
(66)
|
Politica de confidentialitate |
| Copyright ©
2026 - Toate drepturile rezervate. Toate documentele au caracter informativ cu scop educational. |
Personaje din literatura |
| Baltagul – caracterizarea personajelor |
| Caracterizare Alexandru Lapusneanul |
| Caracterizarea lui Gavilescu |
| Caracterizarea personajelor negative din basmul |
Tehnica si mecanica |
| Cuplaje - definitii. notatii. exemple. repere istorice. |
| Actionare macara |
| Reprezentarea si cotarea filetelor |
Geografie |
| Turismul pe terra |
| Vulcanii Și mediul |
| Padurile pe terra si industrializarea lemnului |
| Termeni si conditii |
| Contact |
| Creeaza si tu |