Masini de rectificat cu doua discuri abrazive
Metoda de rectificare cu doua discuri abrazive se aplica danturii exterioare drepte sau inclinate.
Materialele
flancurilor cremaliere generatoare se realizeaza prin suprafetele
frontale ale discurilor taler (fig.16.43), care rectifica flancurile
aceluiasi gol sau a doua goluri diferite.
Fig.16.43. Rectificarea danturii cu doua discuri abrazive.
Dupa pozitia axelor celor doua discuri abrazive, in raport cu planul orizontal, se deosebesc doua metode de rectificare: metoda de 15 sau 20° si metoda de 0°. Metoda de rectificare de 0° (fig. 16.43, b) este des folosita intrucat asigura o precizie marita a prelucrarii si obtinerea modificarii flancului prin flancare sau bombare. La aceasta metoda rularea are loc pe cercul de baza de raza Rb.
Contactul dintre suprafata activa a sculei si flancul dintelui care se prelucreaza este liniar iar lungimea cursei este mai mica decat in cazul folosirii discurilor inclinate (fig. 16.43, a).
In procesul generarii suprafetelor evolventice prin rulare cu dreapta fixa sunt necesare miscarile (fig. 16.44): principala A a sculelor S1 si S2, de avans B a piesei P in lungul axei sale, de rotatie C alternativa a piesei corelata cu miscarea sa D de translatie si de divizare E discontinua.
Pentru realizarea rularii (miscarile C si D) se foloseste un mecanism cu tambur si benzi metalice. Roata-piesa P este solidarizata cu tamburul T si dispusa coaxial cu acesta. Cele doua benzi b1 si b2 au un capat legat de tamburul T, iar celalalt capat de suportul cadru Sc , solidarizat cu sania longitudinala SL.
Arborele care sustine roata-piesa si tamburul este montat pe sania transversala ST, careia i se imprima miscarea rectilinie-alternativa D pe ghidajele saniei SL. Deplasarea tamburului pe directia transversala duce si la o rotire C a sa. In felul acesta cele doua miscari C si D ale tamburului sunt transmise si rotii-piesa, montata pe acelasi arbore cu tamburul T.
Fig. 16.44. Rularea cu tambure si benzi.
Rularea rotii-piesa pe
linia de referinta N-N a cremalierei generatoare se
realizeaza foarte precis cand raza RrT
de rulare a tamburului T este egala cu raza de rulare RrP a piesei. Considerand
ca rularea se face pe cercul de baza de raza
este necesar ca
, in care
reprezinta unghiul
de angrenare.
Raza RrT a
tamburului poate fi marita in anumite limite, folosindu-se benzi
auxiliare, de grosime calibrata, care se introduc sub benzile fixe
si
. In felul acesta se reduce intr-o oarecare masura numarul
tamburelor T.
In acelasi scop, la majoritatea
masinilor de rectificat se foloseste constructia
schematizata pe aceeasi figura 16.44. Miscarea D cu
viteza de rulare
corespunzatoare
cercului de raza Rrp, rezulta din insumarea a
doua miscari cu vitezele
, respectiv
Miscarea
avand viteza v' este obtinuta prin intermediul parghiei p, ale
carei brate reglabile se stabilesc la dimensiunile at si
a2. Aceasta se transmite suportului cadru Sc , care,
in acest caz, se va deplasa pe doua ghidaje ale saniei SL.
In figura 16.45 este reprezentata vederea generala a masinii Maag SD-62, pe care sunt indicate principalele sale parti componente. Pe batiul este dispus montantul mobil care sustine sania verticala Pe sania sunt dispuse suporturile portscule care sustin motoarele electrice 5, ce antreneaza discurile abrazive Piesa este montata pe dornul cu un capat fixat la mecanismul de divizare si celalalt sustinut de papusa mobila Sania longitudinala sustine sania transversala pe care este montata piesa. Antrenarea saniei in miscarea rectilinie-alternativa se realizeaza cu ajutorul motorului hidraulic rotativ printr-un mecanism cu culisa reglabila. Pentru uniformizarea miscarii se foloseste volantul antrenat prin transmisia cu curea Mecanismul format din tamburele benzile si suportul-cadru foloseste pentru obtinerea miscarii de rulare. Pentru prelucrarea danturii inclinate se foloseste ghidajul 'reglabil in care se deplaseaza patina care imprima rotii-piesa o miscare de rotatie suplimentara, prin intermediul suportului-cadru

Fig. 16.15. Vederea generala a masinii Maag SD-62
La masinile Maag SD-32-X, de constructie asemanatoare, mecanismul cu tambur si benzi apare intr-o varianta constructiva noua (fig. 16.46). Fata de constructiile anterioare, cunoscute, in acest caz, benzile b1 si b2 trec de la tamburul T, solidarizat cu piesa, peste cate un alt tambur T1 si T2, si se fixeaza la suportul-cadru mobil SM. Acest suport este legat de sania intermediara St cu miscare transversala, a carei viteza de translatie v' este diferita de viteza v a saniei portpiesa ST.
Viteza de rulare vr a piesei, corespunzatoare cercului sau de baza, rezulta, ca si in cazul precedent (v. fig. 16.44), din insumarea vitezelor de translatie v' si v.

Fig. 16.46. Mecanismul cu tambur si benzi folosit la masina Maag SD-32-X.
Miscarile saniilor S1
si ST se obtin prin cele doua mecanisme cu
excentric si culisa MEC1 si MEC2. Raportul
celor doua viteze este
, unde e1
si e2 reprezinta
marimile excentricitatilor reglate la cele doua mecanisme.
Modificand excentricitatile e1
si e2 pot
fi prelucrate roti dintate avand raza de baza Rb diferita de
raza RrT a
tamburelui. Astfel, pentru roti cu diametre intre 20 si
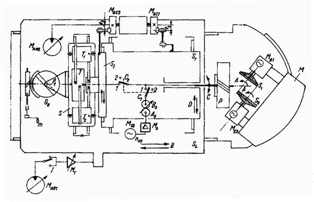
Schema cinematica structurala a acestor masini (fig. 16.47) cuprinde lanturile cinematice generatoare: principal, de avans longitudinal, de avans transversal, pentru rotirea suplimentara a piesei (in cazul prelucrarii danturii inclinate) si auxiliare: de divizare, pentru ascutirea periodica a discurilor abrazive.
Motoarele ME1 si ME2 asigura celor doua scule S1 si S2 miscarea principala A.
Lantul cinematic de avans longitudinal asigura miscarea B rectilinie-alternativa a saniei SL cu o anumita viteza ωt reglabila continuu. Acesta este constituit dintr-un motor hidraulic rotativ, MHR1, inversorul I si mecanismul MT.
Pentru realizarea rularii, sania ST este antrenata in miscarea de translatie rectilinie-alternativa D cu viteza ωt de catre un motor hidraulic rotativ MHR2, prin intermediul mecanismului MEC1. Simultan si corelata cu aceasta se realizeaza si miscarea de rotatie C a piesei, prin intermediul mecanismului cu tambur si benzi (v. si fig. 16.46).
Fig. 16.47. Schema cinematica structurala a masinilor de
rectificat Maag.
La masinile de
constructie mai veche, antrenarea lanturilor de avans se
realizeaza cu un motor electric, iar vitezele de avans ωl si ωt se
regleaza prin roti de schimb sau cutie de avansuri.
Divizarea se efectueaza o data la o cursa a saniei SL, la iesirea piesei din contact cu sculele. Miscarea pentru divizare este furnizata de la motorul electric ME3, prin mecanismul de divizare MD si rotile de schimb AD si BD in timpul divizarii, cuplajele C1 si C2 sunt trecute pe pozitiile si respectiv 5, comandate simultan.
Pentru prelucrarea, danturii inclinate, sculele se pozitioneaza in lungul flancului danturii, rotind montantul mobil M (2, v. fig. 16.45) pe ghidajele sale. Miscarea de rotatie suplimentara a piesei o asigura ghidajul reglabil GR in care se deplaseaza patina Pt, solidarizata suportului cadru mobil S.
Pe masina se pot rectifica danturi modificate prin flancare si bombare, asigurandu-se sculelor S1 si S2 corectiile necesare [26].
|
Politica de confidentialitate |
| Copyright ©
2026 - Toate drepturile rezervate. Toate documentele au caracter informativ cu scop educational. |
Personaje din literatura |
| Baltagul – caracterizarea personajelor |
| Caracterizare Alexandru Lapusneanul |
| Caracterizarea lui Gavilescu |
| Caracterizarea personajelor negative din basmul |
Tehnica si mecanica |
| Cuplaje - definitii. notatii. exemple. repere istorice. |
| Actionare macara |
| Reprezentarea si cotarea filetelor |
Geografie |
| Turismul pe terra |
| Vulcanii Și mediul |
| Padurile pe terra si industrializarea lemnului |
| Termeni si conditii |
| Contact |
| Creeaza si tu |