ORGANELE FIXE ALE MASINII CU ABUR CU PISTON
CILINDRUL
Una din cele mai importante parti componente ale masinii cu abur cu piston o constituie cilindrul.
In cilindrul masinii cu abur are loc procesul de transformare a energiei termice a aburului in lucru mecanic. La masina cu abur deosebim cilindri turnati separat si cilindri turnati in bloc.
Cilindrii turnati separat sunt pentru fiecare treapta de expansiune, iar cilindrii turnati in bloc sunt aceia care se toarna intr-un singur corp pentru toate treptele de expansiune. Corpul cilindrilor este turnat din fonta fosforica (fonta cenusie) sau din fonta perlitica, care trebuie sa prezinte o masa omogena si rezistenta. In special, corpul cilindrilor de inalta si medie presiune se toarna din fonta aliata (speciala) sau otel turnat, cu o duritate mare.
Prelucrarea suprafetelor de lucru ale cilindrilor se executa minutios. Strunjirea suprafetelor interioare ale cilindrilor trebuie sa se execute cu o inalta precizie si sa fie perfect netede si de acelasi diametru. Pentru micsorarea pierderilor de caldura in mediul inconjurator, se fixeaza pe corpul cilindrilor, in exterior, un strat de material izolant de azbest sau vata de sticla, peste care se aplica un invelis metalic din tabla de otel. Cilindrii masinii verticale cu abur se inchid ermetic la partea superioara si inferioara.

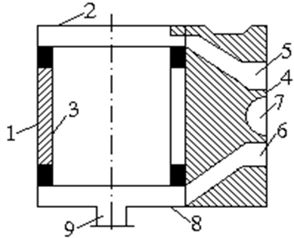
Fig. 9. Cilindrul masinii cu abur cu piston:
1 - corpul masinii; 2 - capacul superior; 3 - camasa cilindrului;
4 - oglinda sertarului; 5, 6 - canale de admisie si evacuare a aburului;
7 - orificiul de evacuare a aburului din masina; 8 - capacul inferior;
9 - presetupa (cutie de etanseitate).
CAPACELE CILINDRULUI
Capacul superior al cilindrului se toarna separat de cilindrul masinii. Pistonul in cilindru nu trebuie sa atinga capacele cilindrului pentru a preintampina loviturile in cazul uzurii cuzinetilor sau al slabirii piulitei tijei pistonului.
In acelasi timp, spatiile dintre piston si capace, numite spatii moarte (spatiul mort cuprinde si volumul canalelor de introductie a aburului), trebuie sa fie cat se poate de mici, pentru ca umplerea sa se faca cu o cantitate mica de abur.
De aceea configuratia capacelor cilindrului este asemanatoare cu configuratia pistonului. Astfel capacele cilindrului capata o forma foarte complicata, corespunzatoare formei pistonului. Inaltimea spatiului dintre capac si piston depinde de marimea diametrului cilindrului.
Pentru micsorarea pierderilor de caldura prin capace, in mediul exterior, se aplica intre nervurile capacului un strat de azbest sau vata de sticla, care se acopera cu un invelis de tabla subtire. Capacele cilindrului sunt turnate din otel.
Pe capacele cilindrului sunt prevazute orificii filetate pentru fixarea robinetilor de ungere si respectiv de purjare. Pentru etansarea capacelor fata de corpul cilindrului se aplica intre acestea garnituri de clingherit sau garnituri metalice. In unele cazuri, capacul inferior al cilindrului se toarna la un loc cu corpul cilindrului. Astfel de capac intalnim la masinile cu distributie prin supape si la masinile de inalta presiune.
Masinile la care capacul inferior al cilindrului se toarna separat sunt mai usor de construit, deoarece se usureaza procesul tehnologic al turnarii si prelucrarii.
CAMASA CILINDRULUI
In cazul functionarii indelungate a masinii, peretii cilindrului se uzeaza datorita frecarii pistonului.
La masinile inclinate, pistonul preseaza cu greutatea sa pe partea inferioara a cilindrului, datorita carui fapt aceasta parte a suprafetei cilindrului se uzeaza mai mult decat partea superioara (se ovalizeaza). Pentru a remedia aceasta situatie, cilindrul are nevoie de strunjire si slefuire dandu-i forma initiala - perfect circulara.
Dupa cateva strunjiri, peretii cilindrului devin foarte subtiri, ceea ce determina inlocuirea cilindrului sau a blocului de cilindri. Schimbarea (inlocuirea) cilindrului de abur costa scump si operatia e destul de greoaie. Pentru a inlatura inlocuirea cilindrului, partea lui inferioara se confectioneaza uneori separat sub forma unei camasi. Camasa cilindrului se toarna din fonta aliata (speciala) sau din bronz, pentru a rezista frecarii si pentru a nu se uza repede. Camasile se aplica numai cilindrilor de inalta pres, care lucreaza cu abur supraincalzit.
Camasile se mai folosesc de asemenea pentru repararea masinilor vechi la care se maresc parametrii aburului la cilindrii de inalta presiune. Foarte rar se intalnesc camasi de cilindru de medie presiune, deoarece presarea acestor camasi de diametru mare este dificila.
CUTIILE DE ETANSARE
Pentru micsorarea scaparilor de abur in afara cilindrilor si a cutiilor de distributie, prin interstitiile formate la iesirea tijelor pistoanelor si a tijelor sertarelor se folosesc cutiile de etanseitate. Aceste cutii se compun din urmatoarele parti: bucsa, garnituri, inele de fund, presetupa si suruburi de fixare. Garnitura e confectionata dintr-un material moale (inele de fonta, aliaje speciale).

Fig.10. Cutie de etanseitate cu garnitura moale
1-capacul cutiei (fonta); 2-inele de fund (bronz); 3-salamastra sau azbest grafitat; 4-presetupa (bronz); 5-suruburi de fixare; 6-tija piston
CUTIA DE DISTRIBUTIE
In functie de distributia aburului in masina, cu ajutorul sertarelor sau cu ajutorul supapelor, intalnim cutia sertarelor sau cutia supapelor de distributie.
Cutia supapelor sau cutia sertarelor de distributie e locasul unde are loc distri-buirea vaporilor in cilindru. Aceste cutii au forma cilindrica sau parale-lipipedica, in functie de forma sertarului (cilindrica sau plana), care e dispus in interiorul acestora. De regula, cutiile sertarelor se toarna dintr-o bucata cu cilindrul masinii (mai convenabil din punct de vedere constructiv), uneori insa ele se construiesc separat. Cutiile sertarelor turnate separat sunt mai usor de turnat si prelucrat. Cutiile sertarelor pre-zinta inconvenientul ca prinderea lor pe cilindru cu ajutorul flanselor e operatie complicata de montaj (neetanseitate perfecta).
Capacele cutiilor sertarelor sunt circulare sau dreptunghiulare in functie de forma sertarului. Pentru marirea rezistentei capacelor, acestea sunt prevazute, in partea lor exterioara, cu nervuri, perpendiculare pe axa. Spatiul dintre aceste nervuri se acopera cu material izolant (azbest sau staniol). Capacele se prind de capacul cutiei cu ajutorul flanselor si a prezoanelor.
La masinile cu abur inclinate si cu distributie prin supape, cutiile supapelor sunt turnate separat sau impreuna cu cilindrul masinii si sunt dispuse deasupra cilindrului sau lateral. Pentru fiecare supapa se toarna separat cutia supapei, iar in general fiecare cilindru are 4 cutii de supape. Principala parte componenta a cutiei de distributie o constituie oglinda. Oglinda cutiei de distributie e planul pe care se deplaseaza sertarul si pe care sunt practicate ferestrele orificiilor de admisie si de evacuare a aburului din cutia sertarului in cilindru. Suprafata oglinzii e foarte bine prelucrata si lustruita pentru alunecarea usoara a sertarului.
BATIUL SI POSTAMENTUL
La masinile verticale cu dubla si tripla expansiune, blocul cilindrilor se sprijina pe batiul masinii, format din coloane de sustinere si bare masive turnate. In prezent se cunosc 3 tipuri constructive ale batiului: a)bare masive, pe o parte si coloane pe cealalta parte (fig.11); b)bare masive pe ambele parti (fig.12); c)coloane de sustinere pe ambele parti (fig.13).


Fig.11 Fig.12

Fig. 13
De regula, barele masive sunt turnate din fonta si coloanele din otel forjat.
ORGANELE MOBILE ALE MASINII CU ABUR CU PISTON
PISTONUL
Pistonul masinilor cu abur de tip naval se construieste din fonta sau otel turnat, deoarece forta aburului care actioneaza asupra lor e de ordinul miilor de Kgf. Pistoanele pot fi forjate sau sudate. Pistoanele forjate se confectioneaza din otel sub forma unor discuri masive si se intrebuinteaza la cilindrii cu diametru mic (cilindrii de inalta presiune si mecanismele auxiliare). Pentru miscarea greutatii pistoanele turnate din fonta si otel se confectioneaza goale la mijloc si de forma conica sau plana.
La masinile principale cu abur se intrebuinteaza de abicei, pistoane din otel in forma conica. Un piston este prevazut cu canale de etansare (de regula 3.5). Diametrul exterior al pistonului este mai mic decat diametrul interior al cilindrului. Jocul se lasa intre piston si cilindru.
Pentru cilindrii de inalta presiune de la masinile care lucreaza cu abur supraincalzit, jocul dintre piston si cilindru se mareste cu 15.20%, deoarece si dilatarea pistonului este mai mica. Cand jocul acesta se mareste din cauza uzurii se inlocuiesc atat bandajul pistonului cat si inelele de etansare (segmenti). La masinile moderne se folosesc pistoane sudate care sunt foarte usoare si in acelasi timp destul de rezistente.

Fig. 14 Pistonul masinii cu abur
1-cap piston; 2-bandaj; 3-inele de etansare (segmenti); 4-butucul pistonului
Procesul de fabricatie a segmentilor este foarte pretentios si consta din mai multe operatii de prelucrare la strung si freza. Segmentii se calculeaza tinand seama de presiunea exercitata de peretii cilindrului si de deformarile la care sunt supusi in timpul functionarii.
O mare atentie trebuie acordata la montarea segmentilor pe piston, deoarece tensiunea maxima care se dezvolta in acest moment in segment poate duce la ruperea acestuia.
TIJA PISTONULUI
Tija pist la masina cu abur se confectioneaza din otel forjat si se prelucreaza foarte bine la strung pentru a nu da nastere la o frecare mai mare in cutia de etanseitate.

Fig. 1 Tija pistonului
Un capat al tijei se fixeaza de piston cu ajutorul piulitei si al sigurantei sau chiar cu contrapiulita si un stift de siguranta, iar la celalalt capat tija se fixeaza de capul de cruce tot prin intermediul piulitei si cu stift de siguranta.
CAPUL DE CRUCE, PATINELE
CAPULUI DE CRUCE SI GLISIERELE
Tija pistonului face legatura intre piston si capul de cruce, iar prin intermediul acestuia transmite miscarea mai departe bielei. Deci capul de cruce este un organ intermediar, avand un rol bine definit in transmiterea miscarii la axul masinii.
In timpul functionarii masinii, forta dezvoltata de presiunea aburului care actioneaza asupra pistonului este transmisa tijei pistonului, iar aceasta la randul ei, prin intermediul dispozitivului de ghidare, care se compune din capul de cruce, patina si glisiera, transmite miscarea mai departe mecanismului biela-manivela, realizand astfel punerea in miscare a axului masinii.
Corpul capului de cruce e confectionat din otel turnat sau forjat si apoi prelucrat la strung si freza. Bolturile capului de cruce sunt supuse unui tratament termic.
De obicei, patinele se confectioneaza din fonta, iar suprafata lor se acopera cu un strat de compozitie (antifrictiune). Patinele pot fi dintr-o bucata cu capul de cruce sau se fixeaza pe acesta cu suruburi.
Glisierele se construiesc din fonta sau otel turnat si se prevad cu racire interioara cu apa. Falcelele (sinele de alunecare ale glisierei), se construiesc din fonta, otel turnat sau forjat si se fixeaza in buloane pe glisiera sau pe batiul masinii.

Fig. 16. Cap de cruce
1-tija pistonului; 2-corpul capului de cruce; 3-fusurile capului de cruce; 4-pilita de strangere; 5-glisiera; 6-patina; 7 - falcele
BIELA
Biela este una din principalele piese ale masinii cu abur. Biela uneste capul de cruce cu manivela axului cotit al masinii. Cu ajut mecanismului biela-manivela, miscarea alternativa a pistonului, a tijei pistonului si a capului de cruce se transforma in miscare circulara continua a arborelui motor (cotit) al masinii. Un capat al bielei se leaga cu capul de cruce, iar celalalt capat, la manivela axului cotit. Biela are o forma alungita, la extremitatile careia sunt dispuse capetele cu lagare si cuzineti pentru asamblare. Biela se compune din corp, picior (partea de sus) si cap (partea de jos). Legatura capului de cruce cu piciorul bielei se numeste lagarul capului de cruce, iar legatura bielei cu manivela se numeste lagarul butonului manivelei.
La masinile moderne, lagarele cu cuzinetii lor se confectioneaza din otel, iar suprafetele de lucru sunt prevazute cu un strat de compozitie (antifrictiune). Grosimea stratului de compozitie al cuzinetilor bielei depinde de diametrul butonului de manivela si de bolturile capului de cruce. Piciorul bielei este in forma de furca cu 2 cuzineti. Piciorul bielei in forma de furca cu bolt se intalneste de regula la masinile auxiliare.

Fig. 17. Piciorul bielei in forma de furca cu bolt
ARBORELE COTIT
Arborele cotit constituie una din cele mai importante piese ale masinii alternative cu abur. Arborele cotit se construieste din otel special si dupa prelucrare e supus tratamentului termic. El poate fi dintr-o bucata sau din mai multe piese ansamblate prin flansa.
In functie de numarul cilindrilor masinii, arborele cotit poate fi cu un cot sau cu mai multe coturi. Arborele cotit la masinile mici se construieste dintr-o bucata din otel forajt. Numarul si dispunerea manivelelor la axul cotit se determina in functie de tipul masinii.
Arborii cu un singur cot sunt utilizati pentru masinile mici auxiliare cu un singur cilindru iar cele cu 2 coturi si cu dispunerea manivelelor sub un unghi de 90o sunt utilizate pentru masinile cu dubla expansiune.
Masinile cu tripla expansiune cu arbore cotit cu 3 manivele sunt dispuse sub un unghi de 120o una fata de alta. Pentru o mai usoara confectionare a coturilor acestea se pot executa din bucati.

Fig. 18. Arborele cotit:
1- fusul axului; 2 - bratele manivelei (contragreutati); 3 - fusul maneton; 4 - flansa de cuplare; 5 - excentric montat pe arbore
LAGARELE ARBORELUI COTIT
Arborele cotit al masinii alternative cu abur se roteste in lagarele montate pe rama postamentului masinii. Lagarele arborelui cotit al masinii sunt lagare pentru sustinerea lui si se numesc lagare de pat. Lagarele de pat ale arborelui cotit se monteaza aproape de coturi pentru a micsora momentul de inconvoiere. Dimensiunile lagarelor de pat depind de diametrele fusurilor arborelui cotit. Dupa constr lor lagarele de pat sunt de 2 feluri: paralelipipedice si cilindrice. Cuzinetii de pat cu partea de jos cilindrica se confectioneaza si se monteaza mult mai usor. In acest caz partea de jos se poate demonta, fara sa se scoata arborele cotit. Cuzinetul e acoperit pe suprafata de lucru cu un strat de compozitie (antifrictiune) sau cu un alt aliaj moale.
Intre capacele cuzinetului se dispun o serie de placi subtiri de alama (laine) pentru reglarea peliculei de ulei. La mijloicul cuzinetului se prevede un orificiu pentru a se observa butonul arborelui cotit si pentru ungerea suplimentara.
|
Politica de confidentialitate |
| Copyright ©
2025 - Toate drepturile rezervate. Toate documentele au caracter informativ cu scop educational. |
Personaje din literatura |
| Baltagul – caracterizarea personajelor |
| Caracterizare Alexandru Lapusneanul |
| Caracterizarea lui Gavilescu |
| Caracterizarea personajelor negative din basmul |
Tehnica si mecanica |
| Cuplaje - definitii. notatii. exemple. repere istorice. |
| Actionare macara |
| Reprezentarea si cotarea filetelor |
Geografie |
| Turismul pe terra |
| Vulcanii Și mediul |
| Padurile pe terra si industrializarea lemnului |
| Termeni si conditii |
| Contact |
| Creeaza si tu |