Verificarea arborilor la vibratii
1. Introducere
Dupa natura si sensul de actiune al momentelor exterioare perturbatoare, care pot fi forte si momente de torsiune, arborii pot avea vibratii flexionale, torsionale sau longitudinale. [16],[32],[36],[47],[88].
Dintre aceste vibratii, numai primele doua prezinta importanta, care, de obicei devin periculoase.
De exemplu, in timpul rotatiei unor arbori mai subtiri si de lungime relativ mare, se observa ca in apropierea unei valori w arborele isi pierde forma lui liniara si axa lui incepe sa descrie o suprafata oarecare de revolutie.
Marind viteza unghiulara in continuare, arborele isi reia forma initiala de linie dreapta. Apropiindu-se viteza unghiulara de w >w , arborele iarasi va descrie o suprafata de revolutie insa de alta forma. Astfel de viteze unghiulare poarta denumirea de viteze unghiulare critice.
Coincidenta frecventei oscilatiilor factorilor perturbatori cu cea a vibratiilor proprii duce la rezonanta: amplificarea vibratiei proprii creste continuu si arborele ajunge la rupere.
Asadar, nu este permis ca arborele sa se roteasca cu turatia critica si nici macar ca turatia lui sa se apropie de aceasta.
Prin urmare, verificarea la vibratii consta in determinarea frecventei oscilatiilor proprii ale arborelui, respectiv a turatiei critice ncr, corespunzatoare, pentru a constata daca turatia de functionare nu coincide sau nu este prea apropiata de aceasta
Vibratiile flexionale sau transversale isi pot avea originea in cauze diferite: lipsa de precizie in executarea si montarea arborelui, defecte de material, de executie sau de centrare a organelor montate pe arbore, etc. Un arbore cu sectiune variabila, sub actiunea mai multor sarcini concentrate si partial uniform repartizate, poseda din punct de vedere teoretic, un numar infinit de frecvente proprii. Importanta practica prezinta insa numai prima frecventa proprie, foarte rar a doua sau a treia.
Vibratiile torsionale apar in acele situatii cand momentele de torsiune se aplica brusc, de exemplu in cazul cand electromotorul care pune in miscare arborele este pornit sau oprit brusc. De asemenea, vibratiile torsionale apar si atunci cand asupra arborelui actioneaza periodic, cum ar fi cazul arborelui pe care este fixata manivela unui mecanism biela-manivela. În acest caz poate avea loc fenomenul de rezonanta(frecventa fortei perturbatoare poate coincide cu frecventa vibratiilor proprii).
Fenomenului de vibratii ii este caracteristic faptul ca energia potentiala se transforma periodic in energie cinetica si invers. Timpul in care acest fenomen se repeta poarta denumirea de perioada, iar numarul de perioade in unitatea de timp se numeste frecventa.
Vibratiile longitudinale isi au originea in actiunea periodica a unor forte axiale: Este cazul arborilor solicitati la tractiune sau compresiune. De data aceasta, fortele elastice de restabilire sunt mari in comparatie cu masa oscilanta, rezulta ca perioada oscilatiei proprii este scurta, asemenea vibratii nu sunt periculoase.
2. Calculul turatiei critice flexionale
A. Arbore vertical cu masa proprie neglijabila, solidar cu un disc cu masa m excentricitate e.
Se considera un arbore
vertical simplu de masa neglijabila, rezemat in doua puncte, la mijlocul
caruia este solidarizat un disc cu masa m (figura 5.4).
Din motivele prezentate mai sus, discul are o excentricitate e fata de axa geometrica a arborelui, a carui marime depinde de precizia echilibrarii. În figura 5.4. s-au utilizat urmatoarele notatii:
S - centrul de greutate al discului;
e - excentricitatea discului fata de axa de rotatie;
fdin - sageata dinamica;
sageata finala(maxima) data de suma dintre e si fdin:
ρ = e + fdin (5.21)
În timpul rotatiei arborelui cu viteza
unghiulara w, va lua
nastere forta centrifuga Fc,
care, incarcandu-l, va provoca sageata dinamica fdin. Cresterea
continua a sagetii dinamice este impiedicata de
fortele elastice interne ale arborelui Fe
= c × fdin unde
c este rigiditatea arborelui ,
data de relatia:
. În momentul echilibrarii fortelor elastice
si centrifuge se poate scrie relatia:
Fc = Fe
Prin urmare:
mrw =cfdin (5.23)
dar tinand seama de expresia 5.21, relatia 5.23 devine:
m(fdin + e)w =cfdin (5.24)
de unde rezulta in urma calculelor:
(5.25)
La rupere sageata devine infinit de mare adica: fdin ¥ cand c-mw
Rezulta ca:
(5.26)
Se observa identitatea expresiei de mai sus, cu pulsatia proprie, aceasta viteza unghiulara purtand denumirea de viteza unghiulara critica.
Turatia critica rezulta din relatia
(5.26) stiind ca:
:
![]()
(5.27)
Observatii:
1. Centrul de greutate S al masei m de pe arbore se roteste in jurul axei lui geometrice, indiferent daca arborele este vertical, orizontal sau inclinat asa cum se va arata mai departe. Turatia critica nu este influentata de aceasta pozitie.
2. Pozitia simetrica a discului asigura deplasarea lui paralela cu el insusi, la aparitia sagetii fdin. Daca discul nu este fixat exact la mijlocul arborelui, o data cu producerea sagetii, discul se inclina, dand nastere la momente giratorii care modifica rezultatele. Cum practic sagetile sunt reduse, efectul acestor momente poate fi neglijat.
3. Ipoteza simplei rezemari a arborelui nu corespunde totdeauna in practica. La sagetile mari din apropierea turatiei critice, datorita inclinarilor in reazeme, lagarele exercita un efect de incastrare, care mareste rigiditatea sistemului, ridicand turatia critica.
4. Calculul nu ia in considerare frecarile de lagare sau cele cu mediul exterior, deoarece in general influenta lor este redusa.
5. Din analiza expresiei turatiei critice ncr, nu apare influenta excentricitatii e. Prin urmare, turatia critica, ramane aceeasi, indiferent daca discul este mai bine sau mai putin bine echilibrat.
B. Cazul arborelui orizontal cu masa neglijabila avand un disc de masa m.
|
Fig.5.5 |
Fie arborele situat orizontal (figura 5.5) pe doua reazeme, iar in mijlocul lui este fixat un disc cu greutate G(foarte subtire si omogen) a carui centru de greutate se afla la distanta e de axa arborelui. Discul fiind fixat pe arbore fara inclinare, rezulta: Ixy = Iyz = 0; Mix = Miy = 0.
Asadar, la o rotatie uniforma, va exista doar forta centrifuga de inertie Fi, deoarece Mix= Ix×e
Se presupune, la inceput, ca arborele este in repaus. În acest caz, datorita greutatii G apare sageata statica notata cu fst. Sarcina G este direct proportionala cu sageata fst:
G = c × fst (5.28)
unde c este constanta elastica a arborelui.
Luand in considerare excentricitatea e (figura 5.6.a) care determina pozitia centrului de greutate fata de linia elastica AOB, rezulta ca in cazul rotatiei uniforme a arborelui, sageata depinde de doua forte: forta de greutate G si forta centrifuga de inertie Fi (deoarece centrul de greutate nu este pe axa de rotatie).
|
a) |
|
|
Fig.5.6 |
|
Prin urmare, sageata totala ftot, care apare in timpul miscarii, este mai mare decat sageata statica fst. Se pune acum problema determinarii valorii sagetii totale ftot, stiind ca aceasta depinde de forta centrifuga de inertie Fi, iar marimea acestei forte depinde de sageata totala ftot.
În situatia cand arborele este deformat cu sageata ftot, axa arborelui nedeformat AB nu mai este axa de rotatie a arborelui. În figura (5.6,b) punctul O' reprezinta proiectia axei arborelui nedeformat pe planul discului, punctul O" este punctul de intersectie a axei reale de rotatie cu planul discului, iar O este punctul de intersectie a axei arborelui deformat cu planul discului.
În timpul miscarii de regim, forta elastica Fel, restabilizatoare, care apare datorita deformatiei arborelui are suportul OO', fiind dirijata spre O'. Aceasta forta trebuie sa echilibreze atat forta centrifuga de inertie Fi situata pe dreapta O"O, avand sensul de la O" la O si cu punctul de aplicatie in C. Forta elastica Fel, este proportionala cu sageata totala ftot = OO'.
Prin urmare:
Fel = c× ftot (5.29)
Atribuind caracter vectorial sagetii ftot aceasta se descompune in doua componente:
si ![]()
adica:
(5.30)
Tinand cont ca: Fx = c× fx ; Fh = c × fh si avand relatia (5.29) se poate scrie vectorial:
(5.31)
În timpul miscarii de regim, din
conditia de echilibru a fortelor
rezulta:
Fi = Fx
G = Fh = c × fh (5.32)
Dar cum G = c × fst rezulta din a doua relatie a ecuatiei (5.32) ca: fst = fh
Asadar, rezulta de aici ca axa de rotatie reala a arborelui deformat coincide cu axa arborelui deformat static sub actiunea greutatii G. Înlocuind in prima relatie (5.32), valoarea fortei de inertie Fi = mw (fx + e) se obtine:
mw (fx + e) = c × fx (5.33)
sau:
(5.34)
unde fdin este sageata dinamica, obtinand astfel aceeasi relatie ca in cazul precedent (relatia 5.25).
Pe baza celor expuse se poate scrie ca:
(5.35)
Valorile maxime si minime ale sagetii totale sunt:
(5.36)
Tinand cont de
egalitatile:
si
relatia (5.26)
prezentata in cazul arborelui vertical, devine:

de unde rezulta:
(5.37)
Cand conditiile functionale impun
sageti mici, rezulta valori ridicate pentru turatia critica.
Prin inlocuirea valorii
in expresia sagetii dinamice data de
relatia 5.25 si anume:
,se obtine:
si efectuand calculele se obtine in
final expresia:
(5.38)
sau trecand la turatii expresia:
(5.39)
Reprezentarea grafica a variatiei acestor expresii este data in figura 5.7.
|
Fig.5.7 |
În urma analizei expresiei sagetii dinamice scrisa sub forma data de relatia 5.38 sau 5.39 se desprind o serie de concluzii importante prezentate mai jos :
1.
Cazul cand arborele este in repaus: w = 0, n = 0,
deci
si fdin = 0 (figura 5.8);
2. Cazul
>
deci w < wcr,
respectiv n < ncr. Rezulta ca
> 0,
adica fdin si e cu acelasi sens. : r = fdin + e. Arbore rigid, in regim
subcritic de functionare.
3. Cazul
= 1 sau w wcr, respectiv n = ncr. Rezulta ca
¥ si fdin ¥,
situatia cand arborele intra in rezonanta -
situatie cunoscuta a turatiei critice - arborele se rupe.
4. Cazul
<
deci w > wcr,
respectiv n > ncr. Rezulta ca
< 0,
deci sageata dinamica fdin si
excentricitatea e au semne contrare. Raza de rotatie: r = fdin - e, ceea ce inseamna
ca pozitia centrului de greutate C,
daca se analizeaza figura 5.6,b se situeaza intre punctele
O si O' adica apare fenomenul
de autocentrare. Cazul arborelui elastic, in regim de functionare
deasupra turatiei critice.
5. Cazul
0 sau w ¥ respectiv n ¥.
Raportul
adica
.
Cu alte cuvinte, cresterea turatiei peste valoarea critica, sageata dinamica scade si tinde spre valoarea - e, deci arborele se autocentreaza (figura 5.9), iar lagarele se descarca.
Punctul C din figura 5.6,b coincide cu punctul O". Procesul de autocentrare este folosit in rezolvarea problemelor constructive, arborele elastic constituind o solutie economica.
În practica, pentru o mai mare siguranta, se delimiteaza domeniul turatiilor critice astfel:
- pentru arbori rigizi, n < 0,66 ncritic;
- pentru arbori elastici, n > (1,5-2) ncritic.
În
cazul cand 0,66 ncritic < n < (1,5-2) ncritic , (portiunea
hasurata din diagrama fig. 5.9.), arborii pot intra in
rezonanta. Acest domeniu trebuie evitat.
În situatia arborilor elastici, se recomanda ca trecerea peste turatia critica sa se faca rapid si, prin masuri constructive, sa se limiteze amplitudinea vibratiilor in perioada de rezonanta.
În realitate, la trecerea prin turatia
critica, exista un decalaj in timp intre momentul
in care este atinsa viteza unghiulara critica si
aparitia sagetii dinamice maxime,
respectiv a amplitudinii maxime a oscilatiilor de incovoiere. Cercetarile
au dovedit ca marimea sagetii dinamice fdin max, proportionala ca excentricitatea e si cu wcr, este invers
proportionala cu radacina patrata a acceleratiei
unghiulare
din apropierea punctului critic, dupa o relatie de
forma:
(5.40)
Cu cat se trece mai repede peste turatia critica, amplitudinea oscilatiilor de incovoiere scade, timpul fiind prea scurt pentru aparitia sagetilor mari. Cu atat mai putin periculoasa devine aceasta trecere, daca se prevad tampoane limitatoare ale sagetilor.
6. În cazul cand e = 0, din relatia (5.34) rezulta ca si fdin = 0. În acest caz centrifuga de inertie Fi = mw (fdin + e) = 0,ceea ce este foarte important, deoarece demonstreaza ca deformatia statica a arborelui fst nu provoaca sarcini dinamice in cazul cand arborele este perfect echilibrat (e = 0).
C. Calculul turatiei critice a arborilor de masa neglijabila, incarcati cu mai multe sarcini.
Pentru determinarea turatiei critice se foloseste principiul conservarii energiei.
Daca fi este sageata in dreptul fortei Fi (figura 5.10), in ipoteza ca fibra medie deformata in stare de repaus reprezinta limita vibratiilor ce iau nastere in timpul rotirii, energia potentiala a arborelui in aceasta pozitie este:
(5.41)
unde Fi este greutatea proprie a unui disc.
|
Fig.5.10 |
În ipoteza vibratiilor armonice, deplasarile sarcinilor fi variaza in timp dupa o lege de forma:
Fi(t) = fi sin w t. (5.42)
unde t este timpul, iar w - viteza unghiulara sau pulsatia vibratiilor.
Viteza de deplasare a centrului unui disc este:
wfi cos wt (5.43)
Valoarea maxima a vitezei se obtine in momentul in care fibra medie a arborelui trece prin pozitia A - B. Din relatia 5.43 se observa ca viteza este maxima cand cos wt = 1
vi max = wfi (5.44)
Cand fibra medie trece prin pozitia A -B , energia potentiala devine nula, iar energia cinetica are valoarea maxima, deci intreaga energie potentiala s-a transformat in energie cinetica. Pe baza legii conservarii energiei se poate scrie:
Lp = Lc (5.45)
unde Lc este energia cinetica maxima si are valoarea:
(5.46)
Înlocuind in egalitatea (5.45) relatiile (5.41 si 5.46) se deduce pulsatia critica, respectiv turatia critica:
;
(5.47)
3. Calculul turatiei critice torsionale
Fenomenul de rezonanta care duce la pericolul de rupere a arborelui, se produce si atunci cand frecventa oscilatiilor momentului de rasucire coincide cu frecventa proprie a arborelui. Pentru calculul turatiei critice torsionale, se inlocuieste sistemul real cu un sistem cu un numar redus de mase.
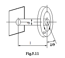
Calculul arborelui cu diametru constant, cu un singur disc oscilant.
Sub actiunea momentului de rasucire Mt, dat de volantul fixat la
unul din capete, arborele incastrat rigid la celalalt capat se
rasuceste cu unghiul
(figura 5.11).
În momentul disparitiei acestui moment, intervine efectul cuplului de sens contrar, dat de fortele elastice din arbore. Ecuatia diferentiala a miscarii oscilante care se produce este:
(5.48)
a carei solutie are forma:
q= A coswt + B sinwt =0 (5.49)
S-a notat aici cu I - momentul de inertie al masei volantului, iar cu c,- rigiditatea arborelui data de relatia :
(5.50)
Dubla diferentiere a expresiei (5.49) si introducerea rezultatului in relatia (5.48) duce la relatia cunoscuta:
(5.51)
Pentru un volant cu diametrul de inertie Di,
![]()
(5.52)
relatie in care Gv inseamna greutatea volantului si g - acceleratia gravitationala.
Daca in expresia generala a momentului de inertie al masei oscilante:
,
in care dm este un element de masa la distanta r fata de axa, se inlocuieste raza de inertie ri , se obtine:
I = m ,,
m , avand denumirea de masa redusa.
Daca arborele are diametre in trepte d1, d2, ..., dn, pe lungimile corespunzatoare l1, l2, .., ln, luand ca diametru de baza d1 pentru arborele echivalent si aplicand in mod logic relatiile:

,
deformatia arborelui are marimea:
(5.53)
Arborele cu diametru constant si cu doua discuri oscilante.
Discurile
cu diametrele D1, D2 si momentele de
inertie I1, I2 se afla la
distanta l(fig. 5.12). Aplicarea ecuatiei momentelor de miscare
duce la concluzia ca cele doua mase nu pot oscila decat una
contra celeilalte, si deci la constatarea existentei unui punct de
repaus pe axa arborelui(sectiune neutra n-n, la distantele l1,
l2 fata de cele doua mase). Ca urmare, pentru
fiecare parte de arbore cu rigiditatea
si
se poate scrie:
(5.54)
si I1l1 = I2l2 = I2(l - l1)
sau
(5.55)
|
Fig.5.12 |
Tinand seama ca:
si
,
in care G este modulul de elasticitate
transversala si
modulul de
inertie polar al arborelui, din relatiile (5.54) si (5.55) se
deduce:
sau
(5.56)
Momentele de inertie masice I1 si I2
pot fi inlocuite prin masele reduse
si
.
|
Politica de confidentialitate |
| Copyright ©
2025 - Toate drepturile rezervate. Toate documentele au caracter informativ cu scop educational. |
Personaje din literatura |
| Baltagul – caracterizarea personajelor |
| Caracterizare Alexandru Lapusneanul |
| Caracterizarea lui Gavilescu |
| Caracterizarea personajelor negative din basmul |
Tehnica si mecanica |
| Cuplaje - definitii. notatii. exemple. repere istorice. |
| Actionare macara |
| Reprezentarea si cotarea filetelor |
Geografie |
| Turismul pe terra |
| Vulcanii Și mediul |
| Padurile pe terra si industrializarea lemnului |
| Termeni si conditii |
| Contact |
| Creeaza si tu |