| Aeronautica | Arheologie | Arhitectura | Auto | Comunicatii | Constructii |
| Criminalistica | Desen tehnic | Electronica electricitate | Tehnica mecanica |
Uzura prin oboseala superficiala |
| Uzura prin oboseala superficiala Pitting-ul sau uzura prin oboseala superficiala [200, 294] este un proces mecanic, cauzat de solicitari mecanice sau mecano-termice ciclice, asociate unei miscari de rostogolire, de alunecare ... Citeste mai mult « 590 cuvinte, 2 pagini » |
Instalatia de sudare |
| Instalatia de sudare 1.generator de acetilena 2.butelie de oxigen 3.reductor de presiune 4.furtun 5.supapa de siguranta 6.furtun arzator 8.masa 9.sistem de ventilatie. 1.Generatorul de ... Citeste mai mult « 953 cuvinte, 2 pagini » |
Sudabilitatea metalelor |
| Sudabilitatea metalelor Sudabilitatea este proprietatea tehnologica a metalelor si aliajelor de a putea fi sudate. Sudabilitatea este definita in STAS 7194-79 si depinde de compozitia chimica si starea structurala. Sudabilitatea ... Citeste mai mult « 372 cuvinte, 1 pagini » |
Zonele caracteristice asamblarii sudate prin aport de material |
| Zonele caracteristice asamblarii sudate prin aport de material. Simpla observare a figurii 2.13 ne permite sa facem constatarea ca orice cordon de sudura reprezinta un important concentrator de tensiune. Cusatura provine din ... Citeste mai mult « 120 cuvinte, 1 pagini » |
Tema STIINTA SI INGINERIA MATERIALELOR |
| COMPONENTELE PISTOANELOR SI DEFINIREA ACESTORA Deoarece trebuie sa fie destul de usor pistonul este gol in interior. In componenta unui piston intra. 1 capul pistonului 2 ... Citeste mai mult « 1353 cuvinte, 3 pagini » |
ORGANE DE MASINI PENTRU INGINERIE ECONOMICA PROFIL MECANIC - APLICATII |
| PROBLEMA Pentru antrenarea benzii transportoare BT, s-a considerat transmisia mecanica formata din motorul electric ME, ambreiajul plan AP si ... Citeste mai mult « 716 cuvinte, 2 pagini » |
Esantionare din rezervor |
| Esantionare din rezervor 1 Rezervoare de suprafata Rezervoare cilindrice verticale Probe punctuale Se coboara dispozitivul de esantionare pana cand deschiderea lui se afla la adancimea ceruta, se deschide ... Citeste mai mult « 2881 cuvinte, 6 pagini » |
Motoare Sincrone Cu Comutator Electronic |
| Motoare Sincrone Cu Comutator Electronic Prin insuși principiul lor de funcționare, mașinile de curent continuu sunt mașini sincrone alimentate la frecvența variabila, colectorul jucand rolul unui convertizor ... Citeste mai mult « 1508 cuvinte, 4 pagini » |
Revizie tehnica ANAF la echipamente cu servicii tip A – abonament (cu suport IBM) |
![]() Revizie tehnica ANAF la echipamente cu servicii tip A – abonament (cu suport IBM) Data/ora reviziei: se stabileste de comun acord cu responsabilul IT ANAF Echipamente: A1,A2 si E1 (procedura ... Citeste mai mult « 520 cuvinte, 2 pagini » |
Separarea unei gazoline de schele in componentii puri |
![]() CAPITOLUL I STUDIU DE LITERATURA 1. Gaze naturale si gazolina 1.1. Gaze naturale Gazele naturale (libere) ... Citeste mai mult « 1835 cuvinte, 4 pagini » |
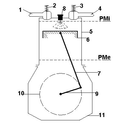
MOTORUL CU ARDERE INTERNA IN 4 TIMPI |
![]() MOTORUL CU ARDERE INTERNA IN 4 TIMPI Contructie; Elemente componente: (Figura 1) 1.galerie de admisie; 2.supapa de admisie; 3.supapa de evacuare; 4.galerie de evacuare; 5.cilindru; 6.piston; ... Citeste mai mult « 454 cuvinte, 1 pagini » |
Proiectarea si Exploatarea Instalatiei de Propulsie |
| Cargou de 2000 TDW Proiectarea si Exploatarea Instalatiei de Propulsie 1) Introducere 1.1)Caracteristicile generale ale navei. 1.2) Rolul si functiile navei 1.3) Sisteme de osatura specifice navei de tip ... Citeste mai mult « 11715 cuvinte, 24 pagini » |
PROIECT LA AUTOMATIZAREA SISTEMELOR DE PRODUCTIE |
| UNIVERSITATEA TRANSILVANIA BRASOV FACULTATEA INGINERIE TEHNOLOGICA SPECIALIZARE INGINERIE ECONOMICA PROIECT LA AUTOMATIZAREA SISTEMELOR DE PRODUCTIE 1. Determinarea ... Citeste mai mult « 2140 cuvinte, 5 pagini » |
Structura mecanismelor (element cinematic, cupla cinematica, lant cinematic – definitie, clasificare, exemple) |
![]() Structura mecanismelor (element cinematic, cupla cinematica, lant cinematic – definitie, clasificare, exemple) Element cinematic (EC)= corp natural care face parte dintr-un mecanism si are rolul de a transmite miscarea si sarcina. ... Citeste mai mult « 4814 cuvinte, 10 pagini » |
Miscarea fluidului in canalul de dimensiuni finite aflat in rotatie |
| Miscarea fluidului in canalul de dimensiuni finite aflat in rotatie Ipoteza esentiala care a stat la baza consideratiilor din paragraful anterior a fost ceea a unui rotor cu un numar de de palete. Aceasta ipoteza nu poate fi ... Citeste mai mult « 982 cuvinte, 2 pagini » |
Roata dintata cilindrica cu directoare in arc de cerc |
| Roata dintata cilindrica cu directoare in arc de cerc si masina de frezat dantura cilindrica cu directoare in arc de cerc Inventia se refera la o roata dintata cilindrica cu dantura cu directoare in arc de cerc si la o masina de frezat o ... Citeste mai mult « 2228 cuvinte, 5 pagini » |
Proiect - TEHNOLOGIA DE ASAMBLARE PRIN LIPIRE |
| PROIECT DE ATESTARE A COMPETENTELOR PROFESIONALE TEMA DE PROIECT: TEHNOLOGIA DE ASAMBLARE PRIN LIPIRE MEMORIU JUSTIFICATIV Proiectul de atestare are ca tema prezentarea tehnologiei de asamblare ... Citeste mai mult « 2836 cuvinte, 6 pagini » |
TIPURI DE SISTEME |
| C1 Sistem: - ansamblu de elemente in interactiune, ce constituie un intreg unificat - o entitate ce proceseaza un set de semnale (intrari) pentru a produce un alt set de semnale (iesiri) Subsistem: sistem ... Citeste mai mult « 6182 cuvinte, 13 pagini » |
OSII SI ARBORI - Definitii. Rol functional. Forme constructive |
![]() OSII SI ARBORI 1 Definitii. Rol functional. Forme constructive Osiile sunt OM de forma cilindrica sprijinite pe reazeme (lagare) si servesc pentru sustinerea organelor de rotatie (scripeti, soti de material ... Citeste mai mult « 2949 cuvinte, 6 pagini » |
Incarcatorul frotal IF 445 - Prezentarea echipamentului propus si a caracteristicilor sale |
![]() Prezentarea echipamentului propus si a caracteristicilor sale Incarcatorul frotal IF 445 este dotat cu urmatoarele echipamente: cupa pentru pamant, furca pentru reziduuri, lama de nivelare. Poate fi montat pe tractorul de 45 CP pe ... Citeste mai mult « 47499 cuvinte, 95 pagini » |
|
Politica de confidentialitate |
| Copyright © 2025 - Toate drepturile rezervate. Toate documentele au caracter informativ cu scop educational. |
Personaje din literatura |
| Baltagul – caracterizarea personajelor |
| Caracterizare Alexandru Lapusneanul |
| Caracterizarea lui Gavilescu |
| Caracterizarea personajelor negative din basmul |
Tehnica si mecanica |
| Cuplaje - definitii. notatii. exemple. repere istorice. |
| Actionare macara |
| Reprezentarea si cotarea filetelor |
Geografie |
| Turismul pe terra |
| Vulcanii Și mediul |
| Padurile pe terra si industrializarea lemnului |
| Termeni si conditii |
| Contact |
| Creeaza si tu |