| Aeronautica | Arheologie | Arhitectura | Auto | Comunicatii | Constructii |
| Criminalistica | Desen tehnic | Electronica electricitate | Tehnica mecanica |
Calculul sistemului de ungere - Calculul lagarului pe baza teoriei hidrodinamice a ungerii |
![]() Calculul sistemului de ungere - Calculul lagarului pe baza teoriei hidrodinamice a ungerii Calculul lagarului pe baza teoriei hidrodinamice a ungerii Experienta a confirmat complexitaatea functionarii ansamblului fus-cuzinet deoarece ... Citeste mai mult « 944 cuvinte, 2 pagini » |
Determinarea indicilor Micuum (rezistentei), a reactivitatii, umiditatii, si analizei granulometrice a cocsului |
| Determinarea indicilor Micuum (rezistentei), a reactivitatii, umiditatii, si analizei granulometrice a cocsului Determinarea M40 si M10 Indicii MICUM prevazuti in standardul de firma nr. 15/2002 sunt: ... Citeste mai mult « 839 cuvinte, 2 pagini » |
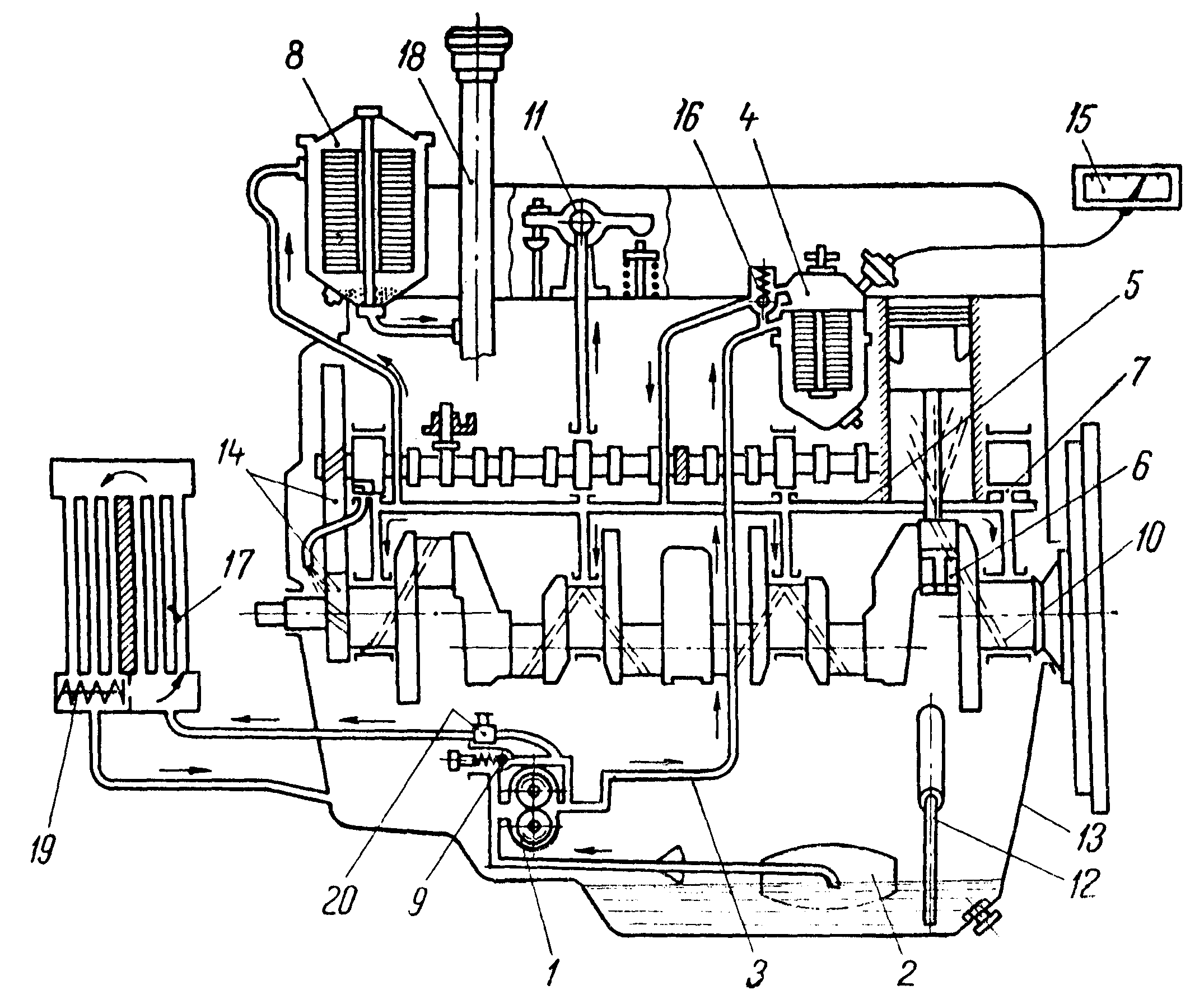
Regimul de curgere a uleiului in canalizatiile sistemului de ungere |
| Regimul de curgere a uleiului in canalizatiile sistemului de ungere Sistemul de ungere se caracterizeaza printr-o retea de canale si conducte pentru transportul uleiului la diferite suprafete aflate in miscare relativa sau care necesita ... Citeste mai mult « 888 cuvinte, 2 pagini » |
Principii de calcul al instalatiei de ungere |
![]() Principii de calcul al instalatiei de ungere Functionarea motorului cu ardere interna se caracterizeaza prin existenta mai multor suprafete aflate sub sarcina si in miscare relativa unele fata de altele, in aceste conditii este necesar ... Citeste mai mult « 2181 cuvinte, 5 pagini » |
Reducerea sistemelor de forte oarecare |
| Reducerea sistemelor de forte oarecare 1 Reducerea unei forte intr-un punct. Torsor. Intr-un punct A al unui corp (fig. 3.16, a) se aplica o forta . Pentru evaluarea efectului acestei forte intr-un punct oarecare O se ... Citeste mai mult « 832 cuvinte, 2 pagini » |
Efectul fortei taietoare. forfecarea si lunecarea |
![]() EFECTUL FORTEI TAIETOARE. FORFECAREA SI LUNECAREA Echilibrul tronsonului elementar din fig. 3.54.a este asigurat, alaturi de fortele exterioare a-i revin, de eforturile sectionale M, T, M + dm, T + ... Citeste mai mult « 177 cuvinte, 1 pagini » |
Calculul de tractiune si caracteristica teoretica de tractiune, obtinuta pe cale grafoanalitica. aplicatie pentru un tractor pe roti 4×4 |
| Calculul de tractiune si caracteristica teoretica de tractiune, obtinuta pe cale GRAFOanalitica. Aplicatie pentru un tractor pe roti 4×4 Se cere sa se efectueze calculul de tractiune si sa se traseze caracteristica teoretica de tractiune ... Citeste mai mult « 8229 cuvinte, 17 pagini » |
Componente a instalatiei de propulsie |
![]() Componente a instalatiei de propulsie Pornind de la sistemul de propulsie compus din: masina, transmisie, propulsor se vor prezenta tendintele dezvoltarii fiecarei componente.. Masina are pondere mare in eficienta navei prin ... Citeste mai mult « 2398 cuvinte, 5 pagini » |
Organe pentru retinerea conducerea si comanda circulatiei fluidelor |
![]() ORGANE PENTRU RETINEREA CONDUCEREA SI COMANDA CIRCULATIEI FLUIDELOR 1 Generalitati Rolul sistemelor de retinere reglare si conducere a circulatiei fluidelor este de a asigura transportul diferitelor substante in stare ... Citeste mai mult « 666 cuvinte, 2 pagini » |
Natiuni privind exploatarea instalatiilor frigorifice |
| NATIUNI PRIVIND EXPLOATAREA INSTALATIILOR FRIGORIFICE 1 INDATORIILE PROCESULUI DE EXPLOATARE Componeta procesului de exploatare si calinstalatii frigorificeicarea lui depinde de marimea si complexitatea INSTALATII ... Citeste mai mult « 1778 cuvinte, 4 pagini » |
Transmiterea prin curele |
![]() TRANSMITEREA PRIN CURELE Transmiterea prin curea e un mecanism care are rolul de a transmite cuplul mat. de la arborele de automare prin intermediul unui element de tractiune numit curea. Cureaua este un O. Om elastic, flexibil si ... Citeste mai mult « 145 cuvinte, 1 pagini » |
Efectul fortei taietoare. forfecarea si lunecarea |
![]() EFECTUL FORTEI TAIETOARE. FORFECAREA SI LUNECAREA Echilibrul tronsonului elementar din fig. 3.54.a este asigurat, alaturi de fortele exterioare a-i revin, de eforturile sectionale M, T, M + dm, T + ... Citeste mai mult « 177 cuvinte, 1 pagini » |
Energia si formele ei |
![]() ENERGIA SI FORMELE EI 1. Formelele de maninstalatii frigorificeestare a energiei. Conservarea si transformarea ei. Unitatile de masura ale energiei si puteri In natura energia se prezinta sub dinstalatii frigorificeerite forme: ... Citeste mai mult « 899 cuvinte, 2 pagini » |
Calculul de tractiune si caracteristica teoretica de tractiune, obtinuta pe cale analitica. aplicatie pentru un tractor pe senile |
| Calculul de tractiune si caracteristica teoretica de tractiune, obtinuta pe cale analitica. Aplicatie pentru un tractor pe senile Se cere sa se efectueze calculul de tractiune si sa se traseze caracteristica teoretica de ... Citeste mai mult « 2134 cuvinte, 5 pagini » |
Rezistenta grinzilor in prezenta fortei taietoare |
| REZISTENTA GRINZILOR IN PREZENTA FORTEI TAIETOARE 1. Eforturi unitare tangentiale. Formula lui Juravski Se considera volumul ABCD, decupat din bara (fig.3.57). Echilibrul de translatii pe directia axului barei (fig.3.58) este ... Citeste mai mult « 1234 cuvinte, 3 pagini » |
Termotehnica - notiuni introductive |
| TERMOTEHNICA - NOTIUNI INTRODUCTIVE Capitolul 1. 1 Obiectul si metodele studiate ale termotehnici Termoteh(termo dinamica tehnica) e disciplina care studiaza procesele ce se desfasoara in masinile si instalatile termice procese ... Citeste mai mult « 1264 cuvinte, 3 pagini » |
Elemente solicitate la compresiune (intindere) excentrica - definitia solicitarii. exemple |
![]() ELEMENTE SOLICITATE LA COMPRESIUNE (INTINDERE) EXCENTRICA - DEFINITIA SOLICITARII. EXEMPLE Compresiunea (intinderea) excentrica este o solicitare compusa, in prezenta careia, pe sectiunea transversala, interactiunea este reprezentata de ... Citeste mai mult « 216 cuvinte, 1 pagini » |
Confectionarea ambarcatiunilor de agrement din rasini poliesterice armate cu fibra de sticla |
| Confectionarea ambarcatiunilor de agrement din rasini poliesterice armate cu fibra de sticla Prezentul articol stabileste conditiile tehnice de executie si de calitate pentru confectionarea ambarcatiunilor de agrement realizate prin ... Citeste mai mult « 1421 cuvinte, 3 pagini » |
Rezistenta barelor incovoiate |
| REZISTENTA BARELOR INCOVOIATE 1. EFORTURI UNITARE PE SECTIUNEA TRANSVERSALA. FORMULA LUI NAVIER Studiul geometric. Pentru a evidentia modul de deformare, pe suprafetele laterale ale unei bare drepte cu sectiune ... Citeste mai mult « 1650 cuvinte, 4 pagini » |
Deformarea barelor incovoiate |
![]() DEFORMAREA BARELOR INCOVOIATE 1. Parametrii deformarii 1.1. Parametrii fundamentali (privind deformatia unui volum elementar) Parametrii care definesc deformarea unui volum elementar sunt deformatia ... Citeste mai mult « 1167 cuvinte, 3 pagini » |
|
Politica de confidentialitate |
| Copyright © 2025 - Toate drepturile rezervate. Toate documentele au caracter informativ cu scop educational. |
Personaje din literatura |
| Baltagul – caracterizarea personajelor |
| Caracterizare Alexandru Lapusneanul |
| Caracterizarea lui Gavilescu |
| Caracterizarea personajelor negative din basmul |
Tehnica si mecanica |
| Cuplaje - definitii. notatii. exemple. repere istorice. |
| Actionare macara |
| Reprezentarea si cotarea filetelor |
Geografie |
| Turismul pe terra |
| Vulcanii Și mediul |
| Padurile pe terra si industrializarea lemnului |
| Termeni si conditii |
| Contact |
| Creeaza si tu |