| Biologie | Botanica | Chimie | Fizica | Geografie | Informatica |
| Istorie | Literatura romana | Management | Marketing | Matematica | Psihologie psihiatrie |
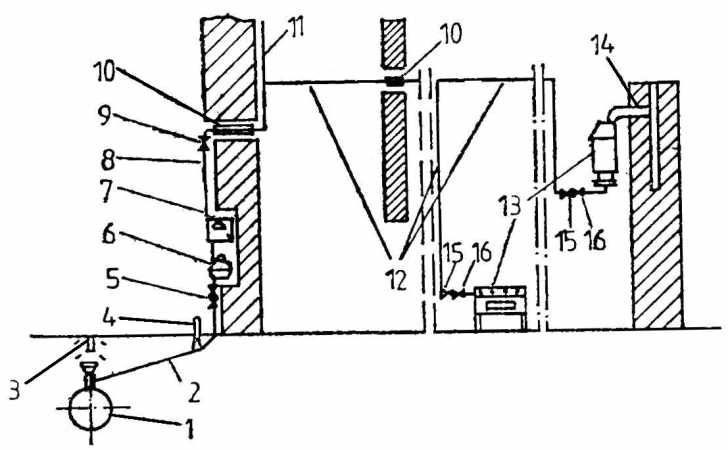
INSTALATII DE ALIMENTARE CU GAZE |
![]() Instalatii de alimentare cu gaze Pentru proiectarea unui sistem de distributie exista cateva criterii principale: · 1- disponibilul total de presiune trebuie astfel repartizat, in ... Citeste mai mult « 2625 cuvinte, 6 pagini » |
Raport de Cercetare - NOI COMPUSI ORGANO-METALICI; STUDIUL PROPRIETATILOR OPTO-ELECTRONICE |
![]() Raport de Cercetare Grant: "NOI COMPUSI ORGANO-METALICI; STUDIUL PROPRIETATILOR OPTO-ELECTRONICE" Universitatea: UNIVERSITATEA BUCURESTI 1. Introducere Tehnologia prelucrarii si ... Citeste mai mult « 7639 cuvinte, 16 pagini » |
Deparafinarea uleiurilor cu cetone prin procedeul Dilchill |
![]() Deparafinarea uleiurilor cu cetone prin procedeul Dilchill Deparafinarea prin racire directa cu solventi -procedeul Dilchill, permite realizarea deparafinarii-dezuleierii prin racire directa cu solvent, pretandu-se la prelucrarea ... Citeste mai mult « 1004 cuvinte, 3 pagini » |
Carburarea metalelor in procesele de reducere |
| Carburarea metalelor in procesele de reducere Carburarea se produce pe doua cai: § prin contact direct intre Me redus si carbonul din incarcatura; § ... Citeste mai mult « 345 cuvinte, 1 pagini » |
Determinarea principalilor indici ai lipidelor |
| Determinarea principalilor indici ai lipidelor Determinarea principalelor constante ale gliceridelor: determinarea indicelui saponificare, de iod si aciditate. Determinarea lipidelor totale dupa metoda Soxhlet Constantele ... Citeste mai mult « 1315 cuvinte, 3 pagini » |
CARACTERIZAREA MATERIALELOR |
| Caracterizarea materialelor Caracterizarea materialelor este un pas important inainte de utilizarea lor in orice scop. In functie de felul cum urmeaza a fi folosit, materielului poate sa i se faca o caracterizare amanuntita din ... Citeste mai mult « 4263 cuvinte, 9 pagini » |
Monozaharidele |
![]() Monozaharidele Monozaharidele care se gasesc de obicei in fiintele vii pot fi clasificate in functie de numarul atomilor de carbon continuti. Cele mai des intalnite sunt zaharurile care au in molecula un numar de 5 sau de 6 atomi de ... Citeste mai mult « 923 cuvinte, 2 pagini » |
GLUCIDE. REACTII CARACTERISTICE DE IDENTIFICARE |
| GLUCIDE. REACTII CARACTERISTICE DE IDENTIFICARE 1.Consideratii generale Glucidele sunt substante cu functiuni mixte, care contin in molecula lor grupari carbonilice si grupari hidroxilice. Ele sunt polihidroxialdehide ... Citeste mai mult « 1854 cuvinte, 4 pagini » |
Recombinarea si difuzia purtatorilor de sarcina |
| Recombinarea si difuzia purtatorilor de sarcina Prin recombinare scade concentratia locala a purtatorilor de sarcina din gaz. Ea reprezinta un proces ce ingreuneaza dezvoltarea descarcarii. Recombinarea poate fi de doua feluri: ... Citeste mai mult « 338 cuvinte, 1 pagini » |
Sodiu |
![]() Sodiu Sodiul este un metal alcalin foarte reactiv din grupa I. 1. Sodiul In Natura Din aceasta cauza sodiul nu se gaseste in natura in stare libera ci doar in sub forma de combinatii chimice foarte stabile. . ... Citeste mai mult « 382 cuvinte, 1 pagini » |
OXIDAREA CARBURII DE CALCIU |
![]() UNIVERSITATEA"TRANSILVANIA"BRASOV Facultatea Stiinta Si Ingineria Materialelor Specializarea Ingineria Valorificarii Deseurilor OXIDAREA CARBURII DE ... Citeste mai mult « 1501 cuvinte, 4 pagini » |
Termodinamica disocierii si formarii oxizilor |
| Termodinamica disocierii si formarii oxizilor Se poate vorbi de doua tipuri de disociere a oxizilor: a) reactii de disociere de la un oxid superior la unul inferior: 6Me2O3 = 4Me3O4 + O2 a) reactii de ... Citeste mai mult « 395 cuvinte, 1 pagini » |
Senzori potentiometrici si amperometrici utilizati in controlul proceselor chimice |
![]() Senzori potentiometrici si amperometrici utilizati in controlul proceselor chimice 1. Senzori potentiometrici (SP) Senzorii potentiometrici sunt senzori de tip electrochimic, ei transformand concentratia ... Citeste mai mult « 1070 cuvinte, 3 pagini » |
SCHEME DE PRINCIPIU PENTRU SISTEMELE DE DISTRIBUTIE A GAZELOR |
| Scheme de principiu pentru sistemele de distributie A GAZELOR Sistemele de distributie se proiecteaza in functie de marimea localitatii, dupa modul de repartizare al consumatorilor si tinand cont de presiunile necesare acestora. ... Citeste mai mult « 303 cuvinte, 1 pagini » |
Aliaje pe baza de cobalt |
![]() Aliaje pe baza de cobalt Aceste aliaje sunt numite in general aliaje cobalt-crom. In principiu, exista doua tipuri de astfel de aliaje; unul este aliajul CoCrMo (F76), care este folosit in general pentru turnarea matritei unui produs, ... Citeste mai mult « 1289 cuvinte, 3 pagini » |
Otelurile inoxidabile |
![]() Otelurile inoxidabile Primul otel inoxidabil folosit ca material pentru realizarea unui implant a fost 18-8 (302 AISI), care are o rezistenta mai mare decat vanadiul si mult mai rezistent la coroziune. Otelul pe baza de vanadiu nu mai ... Citeste mai mult « 1100 cuvinte, 3 pagini » |
Masinile termice si ciclul Carnot |
![]() Masinile termice si ciclul Carnot O masina calorica este un proces ciclic care absoarbe caldura si produce lucru asupra vecinatatilor. "Ciclic" inseamna ca ca sistemul se reintoarce la starea initiala la sfarsitul fiecarui ciclu, astfel ... Citeste mai mult « 854 cuvinte, 2 pagini » |
Biotehnologii in industria amidonului |
![]() Biotehnologii in industria amidonului Amidonul este un polizaharid de rezerva specific vegetalelor, care consta dintr-un numar mare de molecule de glucoza unite prin legaturi α-glucozidice. Se gaseste in: ... Citeste mai mult « 3336 cuvinte, 7 pagini » |
Termodinamica reactiilor din sistemul H-O |
| Termodinamica reactiilor din sistemul H-O Reactia de ardere a hidrogenului 5) 2H2 + O2 = 2H2O(g) ΔG = -504 124 + 117,45 T (J), , . Elementele principale ale analizei termodinamice ale acestei ... Citeste mai mult « 521 cuvinte, 2 pagini » |
Tectosilicati |
| Tectosilicati In cazul feldspatilor, tetraedrii de [SiO4]4- sunt legati intre ei prin toate cele 4 colturile formand o asa numita structura "in carcasa". Substitutia Si4+ de catre Al3+ in tetraedri creaza o sarcina negativa a ... Citeste mai mult « 478 cuvinte, 1 pagini » |
|
Politica de confidentialitate |
| Copyright © 2025 - Toate drepturile rezervate. Toate documentele au caracter informativ cu scop educational. |
Personaje din literatura |
| Baltagul – caracterizarea personajelor |
| Caracterizare Alexandru Lapusneanul |
| Caracterizarea lui Gavilescu |
| Caracterizarea personajelor negative din basmul |
Tehnica si mecanica |
| Cuplaje - definitii. notatii. exemple. repere istorice. |
| Actionare macara |
| Reprezentarea si cotarea filetelor |
Geografie |
| Turismul pe terra |
| Vulcanii Și mediul |
| Padurile pe terra si industrializarea lemnului |
| Termeni si conditii |
| Contact |
| Creeaza si tu |